
图片来源@视觉中国
文 | 连线出行,作者 | 周雄飞
李一男创建的汽车品牌自游家,正在经历至暗时刻。
自李一男宣布造车后,自游家一直备受关注。但本应该在今年年底交付首款车型的自游家,却突然宣布了无法交付的坏消息。
本周三,自游家官方通过官方微博发布了致NV用户的一封信。内容表示自10月NV(自游家NV)面世以来已收到24376名意向用户的支持,其为NV的交付也做好了准备。但由于公司自身原因,NV在短期内将无法交付。
作为未能按承诺在年底交付NV的补偿,其官方也表示会为所有车主全额退还定金,并且赠送一台NV的车模,以及补偿200元星巴克消费卡。基于这一公告,在业内看来自游家或许已走到造车路的末路,李一男的造车梦也或将就此止步。

自游家发布无法交付的公告,截图自NIUTRON汽车官微
不过,据连线出行独家获悉,自游家内部高层目前还未真正放弃造车和交付。两位内部人士告诉连线出行,公司内部目前虽然已裁掉了运营、交付等环节的大部分员工,但保留了北京总部的部分员工及研发岗位的员工,其次全国线下门店还都开着,高层也在积极寻找新的合作伙伴以推动NV在明年的交付。
但也有一些员工对于自游家产品的交付表示了担忧。在他们看来,阻碍自游家NV交付的主要原因在于资质问题。据连线出行了解,自游家在造车模式上选择了蔚来采用的代工模式——通过与大乘汽车合作,以便取得造车资质来造车。
但由于大乘汽车身陷债务危机,同时多年未正常经营,由此并未在自游家准备交付产品时通过工信部的核查,以至于大乘汽车不能正常开工。
除了资质之外,资金压力也是阻碍自游家交付的另一块“挡路石”。据连线出行独家获悉,自游家手头上的资金已没有多少,以至于已经影响到了其开设门店的计划,或许也会影响到之后产品的生产和交付。
这样来看,虽然自游家还没有宣布破产和倒闭,但它的前路依然存在诸多的不确定性。自游家还有机会实现交付吗?它的前路会驶向何处?

01 无法交付、解散团队,但李一男还没完全放弃
自游家,暂时止步于最终交付环节的门前。
本周三,自游家官方微博“NIUTRON汽车”突然发布了一则名为《致NV用户的一封信》的公告,公告首先对下定NV的2万多名用户表达了感谢。
紧接着,其官方话锋一转表示**“由于自身原因,NV在短期内将无法交付。这意味着我们期待的美好旅程还没有开始,就即将结束。”**
为了补偿这些订车用户,自游家官方表示对于所有下定和付款的用户,将在48小时内全额退款。按照其此前公布的数据,有24376名用户支付了1000元意向金,此次涉及的退款金额或达到2400万元。另外,还会为所有用户赠送一台NV的车模和一张价值200元的星巴克消费券。
随着这样一则公告的发出,也算印证了此前在行业中流传“自游家无法交付”的传闻。
早在今年5月,李一男在接受采访时坦然聊道造车失败:“走不下去就走不下去。肯定会难过,你只能回家哭,你还能怎么样?自杀吗?我也不是第一次经历公司倒闭了。但至少我们要留下最后一笔钱,付遣散费,N+1,满足国家法律法规的要求。我大不了看钱不行了就不搞了,先把供应商的钱还了。”
这之后,“李一男造车梦或将破碎”“自游家无法实现交付”“自游家或将解散”等,成为多家媒体争先报道的话题,甚至被热度顶上了微博热搜。

截图自微博
自游家突然官宣无法交付,也让一些消费者略感意外,**“前两天刚去自游家的线下门店看好车准备订车了,没想到结果竟是这样。”**一位消费者对连线出行表示。
对于自游家的员工来说,这件事会发生,心里早已有预期。
**“在官微发布公告前,公司内部的员工大多都知道这个结果。因为早在一周前,有员工在联系自游家工厂时,就听工厂工人说自游家即将解散,工厂那边已经有很多人被通知离职。”**自游家前员工郝宁对连线出行这样说道。
随后,这个消息就在自游家内部流传开来,刚开始很多员工听到这个消息后,有点不能接受,因为在他们看来自游家团队平时内部氛围很好,工资也是正常发放,并且整个造车之路就差交付这一最终环节了。
但很快,解散潮也席卷了自游家整个公司。据郝宁介绍,整个解散流程进行的很快,周三一早上去到公司后,就被通知开员工会议,随后就被通知团队解散,即时生效。
同为自游家前员工的刘娴,离职也经历了同样的过程。**“其实在本周二晚上,公司HR就在员工群里发了通知,要求大家第二天早上早点到,各部门的领导带领员工开会,虽然没有明说要解散,但大家都心知肚明。”**
在公司整体架构上,上到生产制造端、中到交付运营端,下到客户售后端基本都被解散了,仅有各城市的线下门店留下来了,每个门店留下两个人,一位店长和一名员工。
对于被裁员工的补偿,自游家也给出了方案——入职半年的员工给到0.52、六个月到一年是N2、一年到两年是N3、两年以上的则是N4。针对这一裁员方案,一位科技公司的HR对连线出行表示**“自游家这个补偿方案,给得确实挺实惠的。”**
随着自游家官宣无法交付,再加上内部解散的消息公开后,在一些人看来李一男和自游家的造车之路或许就此止步了。但在郝宁和刘娴等员工看来,自游家目前只是暂停,而不是失败。
按照他们介绍,目前像李一男为主的自游家高层们还未真正放弃造车,还在积极寻找新的合作伙伴。最为明显的表现,就是虽然公司大多员工解散了,但线下的门店都还在正常运营。
**“一般来说,如果一家车企真正放弃造车了,线下门店应该是最先会被裁掉的,因为这部分的成本最高。而自游家并没有通知线下门店关闭,到目前为止都要求各个门店正常运营,对已经订车用户的日常维护也还在继续。基于这些就意味着李一男等高层们还想再搏一把。”**刘娴这样对连线出行说道。

自游家线下门店,图源NIUTRON汽车官微
除了门店之外,据郝宁透露,自游家这次也不是解散了所有人,在北京总部,还有上海研发等岗位的员工还都在,研发方面的工作还在进行中,总部的人也在争取在明年实现第一批次量产车的交付。
另据一位接近自游家供应商的知情人士透露,自游家相关高管,比如李一男还在积极寻找新的工厂来保证车辆的生产交付。据他了解,李一男已经与三到四家车企做过洽谈,但谈判结果并不可知。而自游家与他们公司的合作,也没有完全切断,之后或许会继续为自游家供货。
由此来看,自游家或许还未放弃造车,但基于其无法交付的现状,也凸显了该品牌在造车中遇到的问题。
02 一纸造车资质,绊倒了自游家
自游家无法交付的原因,可以从发布的公告中看出一些端倪。
细看其官方在本周三发布的公告,可以看到在公告的落款处写的并不是牛创汽车或者自游家等品牌名称,而是一家名为“大乘汽车”的汽车制造商名称,而这家车企正是负责为自游家生产车辆的代工厂。
我国新能源汽车行业自2014年发展以来,代工模式已被蔚来、小鹏等众多车企品牌采用,作为自身快速获得产能和实现量产的一种途径。
李一男决定造车,始于2018年,当时只确定了公司名为牛创新能源,并且在车辆设计和研发方面开始组建团队。也就在同年,时任众泰汽车董事长的吴建中把众泰金坛基地和抚州基地交给了他儿子吴潇,吴潇凭此基础创立了大乘汽车。
或许是由于同年成立的巧合,再加上大乘汽车彼时拥有燃油车和新能源车的双重生产资质,在李一男看来大乘就是自游家代工的最好合作伙伴。
这之后,李一男的造车梦开始驶入正轨。
2020年12月,江苏牛创新能源科技有限公司正式成立;一年后,该公司的地址变更为常州市金坛区金龙大道563号。需要注意的是,这一地址正是大乘汽车常州金坛基地所在地,而与此同时这一基地园区门口也换上了牛创新能源的牌子。

自游家工厂,图源汽车之家
完成这步后,李一男或许认为一切都准备好了。就在去年12月发布了自己的造车品牌——NIUTRON,中文名“自游家”。到了今年3月,其旗下首款产品自游家NV正式对外亮相。
在新车发布会上,李一男彼时表示自游家NV已经完成了首轮的冬季和夏季测试,该车型预计于今年3月进行小批量生产,并于9月开启首批交付。三个月后,自游家官方官宣,已在北京、上海、深圳和广州等9座城市布局第一批直营门店。
正当行业内外期待自游家产品即将交付时,却先等来了噩耗。
今年9月,据多家媒体报道,自游家生产资质没有拿下来,以至于会影响其之后的量产交付。也就在同时,自游家内部也开始出现同样的传言,**“当时大家说的都是由于大乘汽车那边资质出现了问题,有可能会影响交付进程。”**刘娴这样说道。
据连线出行获悉,大乘汽车早在2015年就在常州金坛建成了整车工厂,以生产新能源乘用车为自身收入的来源。但到了2020年,根据中国汽车流通协会数据显示,这家车企的新能源汽车产销量也已接近于0。
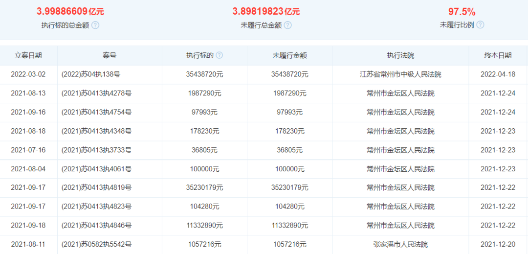
正因如此,大乘汽车目前已是负债累累。天眼查数据显示,大乘汽车目前未履行终本案件的金额已达到3.89亿元,同时其在去年两次被供应商申请破产重整。其法定代表人吴潇也已被列为被执行人和限制高消费。

大乘汽车法律纠纷部分信息,截图自天眼查
对于整车生产资质,我国管理一向很严格,在2020年工信部发文就已发文,对于停产24个月以上的新能源车企,想要再次复工生产就需要经过工信部的核查,只有核查通过才可以开工。
若无法通过核查,有可能会撤销整车生产资质,而对于已是负债累累、多年未正常运营的大乘汽车,正处于工信部核查名单的前列。
随着今年11月《道路机动车辆生产企业及产品公告》的公示,进一步印证了自游家生产资质遭遇问题的事实。
一般来说,按照自游家预计在本月实现交付的规划,在前一个月的产品公示中就应该出现该品牌产品的详细申报信息,但在当月的公示中,却没有出现大乘汽车以及自游家相关的车型申报。
**“加入自游家的员工,大多数都是来自像特斯拉类似的新能源车企,对于新能源汽车的交付进程都很熟悉。看到11月的申报公示中没有自游家的产品,很多员工都明白想要在本月实现交付,已是不太可能的事情。”**郝宁告诉连线出行。
有了这样的判断后,这之后发生团队解散、公司官宣无法交付等事情,其实都在郝宁和刘娴等员工的意料之中。
这样来看,大乘汽车造车资质出现问题,可以被认为导致自游家无法实现交付的最主要原因,基于目前自游家高层还未真正放弃造车和交付,“李一男能否在未来实现造车梦?”也成为行业内外讨论的重要话题。
03 自游家,未来何去何从?
自游家想要继续向前走,首要任务就是解决造车资质。
如前文所述,李一男目前正在积极寻找新的代工厂,来实现自游家NV的交付。另据汽车之家此前报道,李一男正在和山东国金汽车商谈代工的事宜。据了解山东国金于2016年成立,拥有工信部核准的纯电动乘用车生产资质,拥有MPV、轿车、SUV和微型车四大研发平台。
对于自游家未来能否找到新的代工厂,业内还是比较看好的。**“就拿山东国金为例,这家车企近两年的经营情况并不是太好,如果能给自游家代工,说不定能提高自身的营收;而对于自游家这边,接手山东国金也能直接拿到造车资质。”**国内某头部新能源车企研发负责人孙浩对连线出行表示。
有同样看法的,还有郝宁和刘娴等自游家员工。在他们看来,因为自游家目前距离最终交付只有一步之遥,就差代工厂的支持,因此对自游家未来实现交付持有乐观的态度。
但不可否认的是,即便自游家可以在明年实现交付,其想要走好之后的路,也面临一些挑战。
要实现持续的量产交付,充足的资金储备成为关键。对于这方面,李一男曾在去年接受采访时表示,造车以来从没有缺过钱。但事实或许并没有这样乐观。
根据企查查数据显示,自游家从成立至今,仅有一笔融资,发生在去年12月。当月,自游家宣布完成一轮价值为5亿美元的A轮融资,投资方为IDG、COATUE等全球知名机构。

自游家融资经历,截图自企查查
仅此一轮融资,无疑让自游家目前遭遇到了资金压力。**“按照此前的规划,自游家要在今年年底前实现全国200家门店的铺设,但这一计划很早就已停下来了,大概率是因为资金储备难以支撑这一计划的实施了。”**刘娴这样对连线说道。
除了现金贮备不足之外,自游家NV的产品力也成为另一大挑战因素。
单从外形来看,自游家NV定位为中大型SUV,虽然前脸处拥有两个圆形大灯,类似于牛鼻子的造型,拥有一定的辨识度,但就整体外观设计来看,该车型属于中规中矩的类型。
自游家NV在内饰设计上,采用了行业主流的仪表盘+中控屏的双屏设计,这一设计在特斯拉、蔚来等车企的产品中早已呈现出来,并不稀奇。此外,该车型也采用了实体按键隐藏式、无档把等设计,并无太大新意。
动力模式方面,自游家NV采取了“两条腿”的战略——同时采用纯电模式和增程式模式。其中,在增程式款型上,搭载了1.5T四缸的发动机;电动机方面,采用了双电机的配置。
相比于增程式只有一款车型,纯电车型拥有两款车型,分别为纯电标准续航版和纯电长续航版,两者最大CLTC续航里程分别达到了440公里和560公里。
由于自游家NV增程版售价为28.88万元,再加上加速性能方面均优于同为增程式的理想ONE,以至于当前者正式上市后被外界视为是理想ONE和理想L7的最大对手。
对于这一看法,理想汽车CEO李想首先不答应。由此在相关微博下方评论道“这(自游家NV)远远不如L6呀,凭啥和L7比较。”
对比来看,最新款理想ONE虽然在加速性能上劣于自游家NV,但在智能化方面前者拥有AD MAX智能辅助驾驶系统,而后者仅有支持车道保持辅助、车道偏离预警、全速域自适应巡航等基础辅助驾驶功能。
而在纯电动中大型SUV细分赛道上,自游家NV更会遇到小鹏G9、蔚来ES7等热门车型的围攻。就拿续航里程来看,自游家NV两款纯电动车型的续航都没有超过600公里,相比之下小鹏G9的最大续航里程达到了702公里,蔚来ES7甚至达到了930公里。
在孙浩看来,**无论是在外观、内饰设计、还是动力参数,亦或者是智能化方面,自游家NV都与目前各车企的主流产品相比,存在一定的差距。如果产品不具备较强的竞争力,很难在这个内卷严重的战场上获得优势。 **

自游家NV,图源NIUTRON汽车官微
也就是这样一款并不具有优势的产品,还未在承诺的时间交付,其之后的道路或许会更加难走。
**“一般来说,消费者和投资人对于一家车企的信心,是跟着这家车企市场上的表现走的,假若车企的产品没有及时上市的话,那这款车型即便有充足订单,但是未来的销量也会收到损失,因为消费者会转向其他竞争品牌,对于造车这件事特别是车型上市来说,时间机会窗口是非常重要的因素。”**奥纬咨询董事合伙人张君毅向连线出行表示。
李一男曾公开说过一句话——“人们总是喜欢看到跌入谷底再成功反弹的故事”。目前,他或许正在尝试向上反弹,让自游家再次回到正轨。但对于李一男来说,需要更快一些。毕竟随着新能源汽车行业即将走入下半场,留给他反弹的机会也会越来越少。
(文中孙浩、刘娴和郝宁为化名。)
更多精彩内容,关注钛媒体微信号(ID:taimeiti),或者下载钛媒体App
版权归原作者 钛媒体 所有, 如有侵权,请联系我们删除。