
图片来源@视觉中国
文|新眸,作者|兰滨胜
马斯克的火星梦,已经做了20年。
9年前,前《连线》杂志编辑克里斯·安德森主持了一场与马斯克的对话,在会上,马斯克表达了对人类文明未来可能遭遇的无法逃脱的毁灭性结局的担忧,他说,数10亿年以后,太阳会成为红巨星,而地球也将被太阳的烈焰吞没,虽然现在担心这件事有点杞人忧天,但是事实上,这个历程已经开始了,只是还需要10亿年才能发现情况的糟糕。
就是在这场对话会上,马斯克说出了那句著名的话:我想死在火星上,只要不影响SpaceX公司的发展。自成立后,SpaceX以惊人的速度已经陆续实现火箭发射入轨、火箭回收复用、载人航天发射、批量部署“星链”低轨卫星等里程碑式的成果。这让SpaceX成为美国最主要的发射服务商的同时,又逐步成为世界上最大的卫星运营商之一。
所有人不知道的是,火星梦确确实实贯穿于SpaceX的整个发展过程:去年,在NASA Ames、SETI 和六所美国著名大学和研究所的合著者的帮助下,SpaceX提交给美国国家科学院一份关于下一次行星科学和天体生物学十年调查的白皮书,其中详细介绍了未来该如何去往火星。
马斯克曾因为擅长概念营销被诟病,尽管他说过自己不喜欢“营销”这个概念,但实际上马斯克非常重视营销,甚至常常撇开公关团队,自己亲手写公关稿件。从他把特斯拉送上太空这件事上就可见一斑,让特斯拉的品牌与宇宙链接起来,从而使其品牌内涵变得宏大无比。

火星梦是不是一个为SpaceX量身订做的美妙故事,我们不得而知。但在火星梦的牵引下,SpaceX业务布局的纵横交织已经显现,从猎鹰火箭、龙飞船到星链和星舰,商业化业务造血后输给星舰业务,SpaceX看起来似乎真的离火星越来越近了。
**01 **在一级市场追梦
马斯克对火星的执着,在SpaceX创立前就已可见。2001年的某一天,马斯克登陆NASA的网站,试图能找到一些关于火星探索的详细计划,但一点相关内容也没找到。之后马斯克曾失望地对《连线》杂志的记者说,**“为什么一点计划和安排都没有?什么都没有,真是疯了。”**
本该以探索太空新领域为使命的美国机构似乎对火星探索一点兴趣也没有,马斯克诧异之余,为了给全球航天起到一个表率作用,成立了火星生命基金会,“火星绿洲”(Mars Oasis)概念随之诞生,计划向火星发射一个小型实验温室并种植植物,但从俄罗斯购买火箭无功而返之后,自己造火箭的想法在马斯克脑海中越发活跃,最终在2002年落地为SpaceX公司。
后来谈及当初时,马斯克曾坦言,**“在spaceX刚创立的时候,我觉得公司活下来的概率是10%。”**开创者的确很艰难,历时四年,SpaceX才造出了自己的第一枚火箭“猎鹰1号”,但随后的三次发射失败烧光了马斯克几乎所有的财富,也浇灭了投资机构和银行对私人航天公司的期待,彼时,在业界看来,私人火箭是一个毫无价值的烧钱项目。
直到背水一战的第四次发射成功后,SpaceX才终于拿到了NASA提供的16亿美金的订单,向国际空间站提供12次货运补给的服务,正式开启了商业航天之路。
其实自创立SpaceX以来,马斯克的对外口径始终保持一致,即最终目标是让人类成为跨行星物种,这也是他当下职业生涯的主旋律。但直到猎鹰1号成功发射,他的这一目标才被人们所正视,资本才加入了“追梦”的行列。
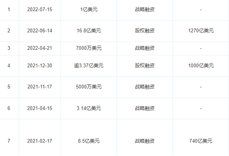
XPRIZE的彼得·戴曼迪斯曾说:“这比仅仅盈利有着更大的驱动力,马斯克的愿景令人陶醉,也很有吸引力。”确实如此,这种吸引力最直接地表现在资本市场上。从2008年接受Founders Fund的A轮融资算起,SpaceX已经至少进行过21轮商业融资,且融资速度呈越来越快的趋势。

2021年至今SpaceX的融资情况
图片来源:天眼查
仅从去年至今,SpaceX就获7轮融资,融资总额约34亿美元。而据路透社报道,今年6月,SpaceX通过股权融资筹集16.8亿美元,估值高达1270亿美元,一跃成为全球第三大独角兽,仅次于字节跳动和蚂蚁集团,并且这一估值规模已经相当于半个阿里巴巴的市值。仅一个月后,韩国未来资产集团也向SpaceX投资了1亿美元。
当目光转向国内时,便能发现SpaceX的成功所带动的全球商业航天浪潮。中国商业航天自2015年政策放开以来进入了快速发展时期,根据天眼查数据,去年商业航天相关企业融资37起,融资金额共逾64.5亿元。从被投资企业轮次分布来看,企业以早期项目为主,种子轮、天使轮以及A轮融资事件数接近融资事件总数的一半。
除此之外,据不完全统计,目前国内参与商业航天领域相关投资的VC/PE机构已超100家,中国商业航天开启了竞争新格局,资本愈发青睐初创企业,尤其是火箭、卫星的发射研发企业。
但国内商业航天和SpaceX相比,终究还有很长的路要走。作为商业航天领域的翘楚,SpaceX拥有超高的估值并不让人意外,有趣的是,马斯克在一直将“火星梦”视作终极目标的同时,不得不花费大量的时间精力在其他商业化方向,两条腿走路的SpaceX,在做盈利和持续发展的尝试。但从商业化业务布局中,或许也能窥到马斯克更大的野心:做世界运转的新基础设施。
**02 **商业化加速
齐奥尔科夫斯基、戈达德,还有冯·布劳恩这些火箭领域的开拓者和传奇人物都曾梦想去火星。但显然,如果航空航天领域没有一场革命,就凭传统航天漫长的研发时间,靠着低频次的物资补给在火星上临时生存是难以实现的。
华泰证券在去年的一份研报中,认为SpaceX凭借火箭回收等技术重塑了全球火箭发射行业。此前火箭发射一直以承载政府的一次性大型项目为主,如建立空间站、人类登月、火星探测、北斗系统建设等,难以形成商业化运营。从火箭发射数据角度,全球政府用火箭的发射项目从2013年后就出现了大幅回落。

火箭发射成本和推力的变化
图片来源:中金公司
但SpaceX靠着自主技术突破,颠覆了传统航天行业,通过产业链垂直一体化自研掌握了火箭回收技术、一箭多星等关键技术,同时优化火箭装配过程,从而不断降低发射成本。SpaceX还利用Starlink等项目作为试点,大幅提高火箭发射频度,通过规模效应进一步摊薄发射成本,由此带来了发射价格的不断下降。
“降本”是SpaceX的得意武器,不断降低的发射价格,使得SpaceX在推进公司业务拓展的过程中奠定了最基础的技术与成本优势,随之而来的,是为SpaceX的商业化带来无限利好。
北京航天长征科技信息研究所的杨开,和中国运载火箭技术研究院的商显扬在文章中写到,SpaceX开拓的5个产品项目形成了公司的五大业务领域,即面向军方发射需求的EELV发射业务、面向“国际空间站”(ISS)的“龙”飞船货物及乘员运输业务、面向商业发射的“猎鹰”火箭业务、面向消费市场的“星链”低轨通信业务,以及面向远期航天运输需求的“超重-星舰”业务。

SpaceX的组织架构和业务布局
其中,星链业务对应的是低轨星座组网的市场,就是用低轨卫星联网的方式把以前的航天任务再做一遍,试图构筑全球的宽带环境。星舰则是和马斯克的火星梦离得最近的一项业务,承担着未来的月球和火星之旅的任务,但多次在测试中发生爆炸事故,离落地还有很长的路要走。
值得注意的是,截止去年6月底,猎鹰9号火箭共进行122次发射,为美国政府用户发射41次,为星链业务发射29次,而为商业用户执行的发射任务52次,占总发射数量的42.6%,并不算很高,如果按照收入来看,商业发射占比就更低了。
商业发射业务更像是SpaceX对外的窗口,树立起公司低价发射服务公司的形象,实际上采取的是薄利的商业模式,另外商业发射业务还成为公司重复使用技术的试验田,使得在其他业务中能够采用多次复用的火箭,降低整体建设成本。

SpaceX公司资金来源
因此,从目前商业化现状来看,为军方和NASA等政府用户提供发射服务是公司最为稳定的资金来源,而且政府还提供了大量研制经费支持。星链和星舰业务仍然处于烧钱阶段,在很长一段时间内,不太可能产生净收入,需要靠其他业务盈利、政府资金支持和融资输血。
正因为SpaceX的商业化和美国五角大楼存在着直接的利益绑定关系,某种程度上SpaceX正在成为美国军方的“武器库”。就拿指向火星梦的星舰为例,美国五角大楼日前正在考虑建立一支军事化的SpaceX星舰舰队作为“快速反应部门”,以挫败未来班加西式的袭击。
**03 **民用市场的“太空竞赛”
2019年,美国空军与SpaceX签署了一项近2800万美元的协议,试图进行军事服务演示验证,以评估星链卫星通信网络用于空军的性能。定位方面,美国陆军也提供了数百万美元的资金,委托德克萨斯大学奥斯汀分校无线电导航实验室进行研究,希望利用星链低轨道卫星提供精度优于GPS的定位服务。
自从SpaceX在2015年宣布了卫星互联网服务项目、提出星链计划(Starlink)以来,民用市场似乎被玩成了一场“太空军备竞赛”,SpaceX也在卫星互联网的基础设施建设上越走越远。
20 世纪末,美国摩托摩拉公司提出了全球首个卫星互联网星座“铱星星座”,由于技术难度大、成本过高、市场定位错误等原因后来被迫停滞。如今,随着卫星通信技术的发展、卫星建造和发射成本的降低,卫星互联网再次走入大众视野。根据美国SIA的数据,现有商业卫星产业总值约2800亿美元,预计到2040年,全球太空经济的价值将达到1万亿美元。其中,卫星互联网预计将占市场增长的 50%~70%。
现在世界上还有70%的陆地没有被互联网覆盖,30亿人用不上互联网。如果用地面骨干网去覆盖这些地区,就算居民能支付成本,也要几十年才能全面建成基础设施。而卫星互联网作为一种“新基建”,发挥着网络基础设施的功能,通过卫星互联网的部署,能够占据天空地一体化的6G话语权。
按照马斯克的计划,星链计划需要在太空中部署卫星数量超过4.2万颗,现在已经发射了超过2750颗卫星。之所以SpaceX以高速发展星链业务,除了商业化需要,也因为轨道坑位和频谱属于稀缺的太空资源,而稀缺资源的背后,是大国的硬实力的较量。
按照国际电联(ITU)规定,轨道坑位和频谱资源遵从先到先得原则。“近地轨道可容纳约6万颗卫星,到2029年地球近地轨道将部署约57000颗低轨卫星,各国抢占卫星互联网空间轨位和频谱资源态势逼人。”正如北京计算机技术及应用研究所所长袁晓光所说,随之而来的一个问题是太空拥堵。
NASA科学家唐纳德·凯斯勒曾提出“凯斯勒效应”:一旦近地轨道上的物体数量达到了一个临界值,碰撞形成的碎片就会产生更多的碰撞连锁反应,最终造成大量碎片包围地球,相应区域变得不可利用、无法通行。换句话说,当近地轨道逐渐被占领蚕食,碰撞概率就会雪崩式放大。
今年6月,美国联邦通讯委员会(FCC)授权SpaceX在移动的交通工具上使用其星链卫星互联网,为其向商用飞机、船舶和卡车上扩展该项目打开了绿灯。这不仅从一个侧面表现出星链已经发展到了几乎完备、可以商用的地步,也宣告了星链在卫星互联网行业的独占优势,从最佳的网络表现再到如今动态使用的加入,SpaceX正使得继续使用其他卫星互联网服务提供商的理由逐渐消失。
当然,这并不代表SpaceX毫无压力,作为全球卫星互联网市场的搅局者,鲶鱼效应下,卫星互联网行业风起云涌。不管是亚马逊创始人贝佐斯的蓝色起源公司,还是近两年才重整旗鼓的英国初创公司OneWeb,都在奋起直追。前者的库伊伯(Kuiper)项目计划将3236颗卫星送入近地轨道;后者也曾向美国联邦通信委员会(FCC)提出过4.8万颗卫星的巨量发射需求,超出了马斯克为星链规划的4.2万颗目标。

中国商业火箭公司重要里程碑
图片来源:中金公司
与此同时,国内卫星互联网同样方兴未艾。2020年,国家发改委首次将卫星互联网纳入通信网络基础设施范畴,为产业发展注入一剂强心针。目前,我国拥有低轨卫星375颗,开始部署“鸿雁”“虹云”等系列星座计划。星河动力的创始人兼CEO刘百奇说到,“从应用层面来说,SpaceX 做星舰主要是为了火星移民,那么在低轨卫星发射方面,我们的差距在未来两三年会逐步缩小。”
和两条腿走路的SpaceX相比,国内商业航天公司在卫星互联网领域扎根,也许正是一步步追赶的最好契机。
**04 **商业航天的尽头是火星吗?
马斯克在某次采访中表示,星链建成后,预计每年收入可达300亿美元,10倍于SpaceX。卫星互联网重资产、高风险、高回报,也就是说在获得高收益前,要先烧钱、抢客户。用OneWeb创始人怀勒的话说:这个行业现在面临的最大的风险就是融资和太空碎片,隔段时间就得找人填补资金缺口。显然,背靠世界首富的SpaceX是最不用担心这一风险的公司。
星链和星舰业务是SpaceX目前唯二的亏损业务,当星链未来有可能成为“现金牛”时,SpaceX也许就会全力推进星舰业务。根据马斯克的判断,SpaceX可能最早于 2022 年完成第一次火星货运(此前预估2025年完成制造推进器和宇宙飞船),2024年实现载人飞船登陆火星的宏愿,本世纪中叶有望向火星移民100万人。
但需要注意的是,就在几天前,外媒报道称,在火箭的最新一轮测试中,SpaceX的超重型助推器因剧烈爆炸而摇晃,并在发射台处多次起火。马斯克也表示,SpaceX在评估损失,此次火灾使火箭助推器原型机受到“轻微”损坏,仍需要对所有发动机进行检查。
星舰飞船面对的问题很多,此次测试中核心构件超重型助推器的爆炸,更是给马斯克的发展计划增添了很多的不稳定因子,月球基地与火星移民等商业模式能否有望成为现实,或许需要留待时间考察。
但正如刘百奇所说,**“SpaceX已经走到了一个脱离今天要谈的商业航天的应用环境了。”**因此,对于国内商业航天来说,盲目对标SpaceX已经不太实际,毕竟马斯克的火星梦,构筑在源源不断的现金流和领先的技术基础之上,在中国的政策、技术环境中,单就降低火箭发射成本、提高火箭发射的产能而言,就还有很长的路要走。
更多精彩内容,关注钛媒体微信号(ID:taimeiti),或者下载钛媒体App
版权归原作者 钛媒体 所有, 如有侵权,请联系我们删除。