
图片来源@视觉中国
文|价值星球,作者 | 归去来,编辑 | 唐飞
今年8月,小米董事长兼CEO雷军以“穿越人生低谷的感悟”为主题举办了自己的第三场年度演讲。
可对于当下的小米来说,又要如何穿越自己的低谷呢?
小米集团最新财报显示,今年二季度公司营收和调整后的利润分别为702亿元和20.8亿元,较同期分别下滑20%和67%。
小米集团业绩下滑主要是因为核心产品智能手机的表现不佳。在全球经济疲软、消费市场收紧、消费者换机需求降低等因素的共同影响下,小米智能手机出货量从去年二季度的5920万台,下降到今年二季度的3910万台,同比下降26.2%。同期,智能手机业务营收也从591亿元减少到423亿元,同比下降28.5%。
主营业务遭遇瓶颈的同时,“造车”被外界视为小米的纾困之计。近日,雷军在社交媒体上表示,他相信,当电动汽车行业成熟时,世界前五大品牌将占据80%以上的市场份额。他称:“换句话说,我们成功的唯一途径是成为前五名之一,并且每年出货量超过1000万辆。竞争将是残酷的。”

图源:Twitter
据外媒统计,2021年全球汽车销量在8105万辆左右,若以此为基数,按照雷军所述小米汽车每年出货量超过1000万辆计算,则对应的小米将占据全球超12.33%的市场份额。
那么结合当前小米在电动汽车领域的布局、行业当前的竞争情况以及未来所面对的市场环境,小米想要实现年出货超过1000万辆,可行吗?
努力造车的“小米”
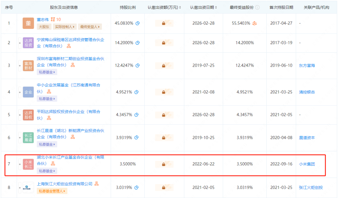
2021年3月30日,雷军宣布小米集团将成立一家全资子公司,负责智能电动汽车业务,首期投资为100亿元人民币,预计未来10年投资额100亿美元,集团首席执行官雷军将兼任智能电动汽车业务的首席执行官。
事实上,小米集团在造车领域所成立的全资子公司并非一家。据天眼查显示,目前和小米汽车相关的公司有两家,一家为去年9月1日成立的小米汽车有限公司,由小米香港公司Xiao mi EV Limited全资控股。另一家则为去年11月18日成立的小米汽车科技有限公司,由小米科技有限公司全资控股。

图源:天眼查
除此之外,自去年3月对外宣布开启造车业务后,小米已通过投资、入股等方式布局多家汽车产业链相关企业。
据国金证券统计,早在2021年9月底,小米投资布局有关智能汽车领域的企业就达62家,其中智能驾驶布局17家企业,智能电动布局13家企业,智能座舱布局6家企业,其中有22家企业是2021年新增投资。
在锂电池方面,小米先后投资蜂巢能源、中创新航、赣锋锂电、卫蓝新能源以及珠海冠宇、法恩莱特等多家头部企业。在激光雷达领域,小米投资企业包括禾赛科技、速腾聚创、图达通、北醒光子等。
在半导体领域,小米在今年9月已入股荣湃半导体(上海)有限公司,持股比例为3.5%。同时,专注于汽车车身装备制造领域的天津福臻、汽车零部件供应商铁流股份也相继发文表示,后续将和小米汽车开展深度合作。

图源:企查查
而为了配合后续的整车制造和生产,小米于去年11月和北京经济技术开发区管委会签订合作协议,正式宣布小米汽车落户北京经开区。小米汽车将在北京经开区分两期建设累计年产量30万辆的整车工厂,其中一期和二期产能分别为15万辆。其中,一期工厂预估在明年6月竣工。
事实上,小米汽车不仅仅是在外部加大投资力度,内部也在历经新一轮的人事变动。
今年8月,原上汽通用五菱销售公司副总经理周钘加入到小米汽车,担任营销负责人,直接向雷军汇报工作。另据36氪报道,小米汽车团队对两位核心高管进行了人事调整。其中,小米汽车副总裁李肖爽麾下的产品部门,交由副总裁于立国负责,而李肖爽已经常驻上海,主要负责供应链。这也几乎是小米宣布造车一年多来,为数不多涉及副总裁的职务变动。
虽然小米集团内部对此事并未做出回应,但业内普遍猜测,相较于李肖爽,在汽车行业内已打拼多年的于立国,能给出更稳健的思路,更有助于小米顺利走到量产。

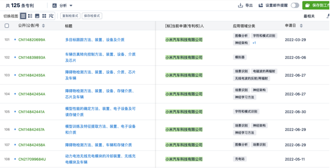
另据智慧芽数据显示,小米汽车自成立以来共申请汽车领域专利125项,其中约70项与自动驾驶相关,涉及车辆目标检测、路径规划、车辆形式控制以及达到L2+级别的技术。

图源:智慧芽
持续性的投资,加大技术研发,补齐人才短板,这也能看出小米想要量产汽车的决心。但仅有这些就够吗?
小米汽车靠什么吸引车主?
事实上,比起雷军所制定的年销售超过1000万辆的远大目标,小米汽车更应该思考的问题是:自己的核心竞争力到底是什么?或者来说是车主为何会愿意购买小米汽车?
对于新能源汽车而言,其制造成本主要包括“三电”(即电池、驱动电机和整车电控)、汽车电子、车身、底盘悬架、车内装饰等,其中三电是新能源汽车的核心。相关统计显示,纯电动汽车的成本构成中,电池、驱动电机和整车电控所占比例分别为42%、10%、11%,即三电成本合计占到63%。
对于车企而言,包括动力电池在内的三电成本控制能力无疑是其最核心的竞争力。尤其是在新能源汽车的补贴退坡的大背景下,这一核心竞争力更是成为新能源车企长远发展的最重要动力。
比亚迪是唯一掌握三电、IBGT等新能源汽车产业链核心技术的车企。也正是比亚迪的这一优势,让比亚迪的价格在同类车型中具有一定优势,成为新能源汽车的“销冠”。
同样的道理,特斯拉的优势在于有业界领先的电池管理系统 (BMS),所以特斯拉一直站在新能源车的风口中央。反观去年刚刚成立的小米汽车,该如何赢得市场呢?
众所周知,小米手机当年是靠走性价比路线取胜的,但这套打法又不能完全复制到电动车。
从小米汽车供应链上的消息来看,小米汽车未来所使用的电池为宁德时代麒麟和比亚迪刀片电池方案。但值得关注的是,磷酸铁锂作为宁德时代麒麟电池的重要原料之一,其价格已从2020年10月的37050元/吨上涨到2022年10月的159900元/吨。若后续这一原料价格持续上涨的话,宁德时代必然会将成本压力转移给下游的小米汽车。

图源:野天鹅网
事实上,除了电池成本上涨,其余汽车生产所需用到的铜、铝等多类原材料均已出现明显上涨,这必然会拉高小米汽车整车制造的成本,对公司的成本控制能力提出挑战。

图源:生意社
压缩不了成本,就很难打出“性价比”的标签,没有性价比又很难短期把销量拉升起来,销量上不去在供应链端就缺少议价权,进而导致成本难以下降,这似乎是一个“死循环”。
更关键的问题在于,电动车的更换频率远低于手机,一辆车的平均服务年限可达8-10年,而一台安卓手机可能1-2年就要更换。
而且如果小米汽车坚持走性价比路线,可能会压低销售环节的利润,这必然会引起小米汽车经销商的不满,不利于小米汽车后续业务的推进。
据最新爆料显示,小米汽车未来的价位可能在18-25万元之间。
但这个价位段明显是当前国内电动车领域的兵家必争之地。据乘联会数据,8-25万元价位区间车型占据我国2021年新能源汽车市场70%以上的销量,由此可以预想小米汽车将面对激烈的市场竞争。

数据来源:车主指南网
在售价相近的情况下,车主自然而然转向挑选车型配置和品牌实力。作为“跨界”而来的厂商,小米在车型打磨和交付能力上还不如特斯拉和“蔚小理”,在品牌积累上也不如比亚迪、吉利、广汽等品牌,唯一能一搏的就是整车的智能化水平了。
在今年8月的发布会上,小米汽车对外展示了现阶段的自动驾驶水平。按照雷军在发布会上的说法,小米自动驾驶技术第一期规划140辆测试车,将陆续在全国进行测试,目标是在2024年进入行业第一阵营。
可是即便小米如愿进入“第一阵营”,也不意味着小米汽车就能“躺赢”。
多位业内人士指出,国内尚需数年时间才能真正将自动驾驶技术融入日常生活。比如,中国汽车流通协会新能源分会秘书长章弘就认为自动驾驶真正落地需要以下几个要素:
其一,自动驾驶软件和相关硬件的成熟,包括汽车与自动驾驶软件的磨合,道路信号、交通现况、急救联络与自动驾驶汽车的磨合,驾乘人员与自动驾驶软件的磨合等方面。其二,相关法律法规、标准的完善。其三,市场需求越大,所需落地时间就会越短。但从目前国内现阶段来看,这些条件均不成熟。
除了外部条件不成熟,自动驾驶的认知普及率也有待提高。安徽省某品牌汽车4S店员工张涛告诉价值星球,客户来店里购买电动车时,询问最多的几个问题就是,电车的续航能力如何?车身框架是否坚硬?内部空间是否够大?驾乘体验是否舒适?但很少有客户询问车辆是否支持无人驾驶,毕竟将自己的性命交给AI,的确是一件需要慎重思考的事情。
对于小米汽车而言,技术、价格和卖点的选择有可能成为量产前最重要的问题。
**小米很难卖1000万辆 **
事实上,要想实现小米汽车年销1000万辆电动车的目标,小米还需要思考未来汽车销售的重点渠道放在哪里?
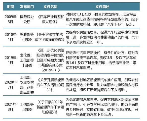
从国内市场来看,若考虑到当下一、二线城市以及强省会城市电车的饱和,下沉市场将会是行业内的一个增长点。但从目前来看,电车若想要在下沉市场大面积普及的话,仍面临着诸多阻力。

图源:公开信息整理
一方面,根据以往新能源汽车下乡经验总结,农村消费者价格敏感度较高,购车预算主要集中在5万元以内,这就解释了为什么售价在2.88-4.86万元的五菱宏光MINI EV可以常年排在国内新能源车销量前三名的原因。
2021年宏光MINI EV年销超39万台,不仅是同级别车里的冠军,还是全国新能源车销量榜的冠军。而小米汽车18-25万之间的售价,对于下沉市场的消费者来说,显然有一定门槛。
另一方面,和电动车息息相关的充电桩在下沉市场仍处在初级阶段,普及率很低。以价值星球实地走访的安徽省界首市为例,在这个县级市的主城区中,几乎看不到新能源充电桩。
在国际市场上,结合海关总署2020年发布的数据来看,我国电动汽车出口的主要增量市场为欧洲市场和北美市场,增速分别为211%和294%,出口总量较2017年提升30.67%。也就是说,传统欧美国家将是中国新能源汽车出海最大的潜在市场。

数据来源:中国海关统计数据
但值得关注的是,在这些市场特斯拉本身就具有先发优势,国产新能源汽车出口很难动其根基。而且此前国内新能源汽车出口到这些市场的均以低价车型为主,高端品牌国际竞争力仍相对较弱。

图源:中国车联会
因此,不管是在国内的下沉市场还是在国际市场上,小米汽车所遇到的阻力都不小,恐怕年销量超过1000万辆的目标很难实现。
更多精彩内容,关注钛媒体微信号(ID:taimeiti),或者下载钛媒体App
版权归原作者 钛媒体 所有, 如有侵权,请联系我们删除。