
@视觉中国
近日,香港高等法院发布了一起重大金融交易案件的判决,案件的主角正是苏宁集团创始人张近东之子张康阳。中国建设银行(亚洲)有限公司状告张康阳逾期未偿还贷款,追偿2.25亿美元的借款,约合人名币17.19亿元。
该案件的判决可谓一波三折。2022年5月3日,听取传票发出。6月17日,张康阳要求中止程序,交与内地法院审理。2022年6月23日聆讯中,法院表示继续于7月19日听取传票,未经法院许可不得再提交证据。
出乎意料的是,听证会前1天,张康阳再次发出传票,要求以他第二次确认、苏宁集团公司员工和1名前员工5次确认的形式提出进一步的证据。
尽管如此,在这场判决中,张康阳依然败诉。

“追债“庭审现场,张康阳的数次“辩驳”
判决中表明,尽管索赔资金巨大,但本案的实质事实并不复杂。
2020年8月20日,建设银行与张康阳就苏宁集团“苏宁小店项目”的再融资交易签订2项担保及一份债权人间协议。
在融资协议中,张康阳全资持有的英属维尔京群岛公司Great Matrix获得了1.65亿美元的贷款。2020年9月25日,Great Matrix发行了总额为8500万美元的2021年到期票据(“票据”)。

更值得一提的是,该借款是在2019年Great Matrix从 Sunning.com 分拆到苏宁智慧生活的背景下发生的。
据2019年7月1日Sunning.com发布的公告称,由于该项目的分拆,张康阳通过Great Matrix和Great Momentum Ltd控制了苏宁智慧生活65%的股份。张康阳是苏宁小店直接股东——持有南京云致享网络科技有限公司高达99%股份的股东。

该贷款款本应于2021年7月5日到期。逾期未还后,2021年7月15日,双方进行了远程会议,讨论了违约、苏宁集团的财务状况和还款建议。
不过,在法庭辩护时,张康阳曾一度找理由为自己开脱,“似乎一些参与‘项目’的工作人员与银行有交往,可能伪造了我的签名,代表公司,协助‘再融资’。”
但法院表示,作为再融资尽职调查过程的一部分,代理律师曾向建设银行提供了张康阳内地身份证的核证副本。此事后,张康阳没有立即向银行和代理律师警示,也并未有向警方报案。并且提出为什么工作人员在没有迹象表明有任何好处的情况下犯下严重罪行。
最为重要的是,经笔迹专家的鉴定,涉案文件上大部分签名均由张康阳本人签署。协议副本上的6个签名中有5个是由张康阳所写,其余的签名是电子副本。
张康阳还曾申请搁置诉讼,认为两名至关重要的证人身处内地,加上苏宁的实体业务主要在内地,诉讼应于内地法院进行。不过,法官表示,该项融资是与香港的银行商议,亦涉及内地以外的贷款人,驳回申请。
法院认为,张康阳的公司利用香港成熟的金融市场进行再融资,从内地以外的实体筹集了大量资金。张康阳辩称, “在Great Matrix事务上,只是按照苏宁集团和相关部门的管理方向行事”。
但法院认为,张康阳对贷款和票据有重大利益,这些贷款和票据是为了对Great Matrix在分拆中的借款进行再融资。
最终,张康阳被判败诉,需向中国建设银行(亚洲)有限公司偿还2.55亿美元(约17.19亿人民币)的借款。
眼花缭乱的资本操作手法
在法院判决书中,法官曾这样表示,张康阳在苏宁集团担任高层,亦曾任职于大型投行摩根士丹利、并出任国际米兰主席,形容他为“一个老练的人“。
张康阳为苏宁易购创始人、名誉董事长张近东之子,2016年3月加入苏宁,曾任苏宁国际业务发展中心总裁,现任苏宁易购董事、意大利国际米兰足球俱乐部主席。
根据企查查相关数据显示,张康阳是南京润贤企业管理中心(有限合伙)的法定代表人。这家公司也是苏宁控股集团和苏宁金控的主要出资人之一。张近东持有其51%的股权,张康阳持有其49%的股权。
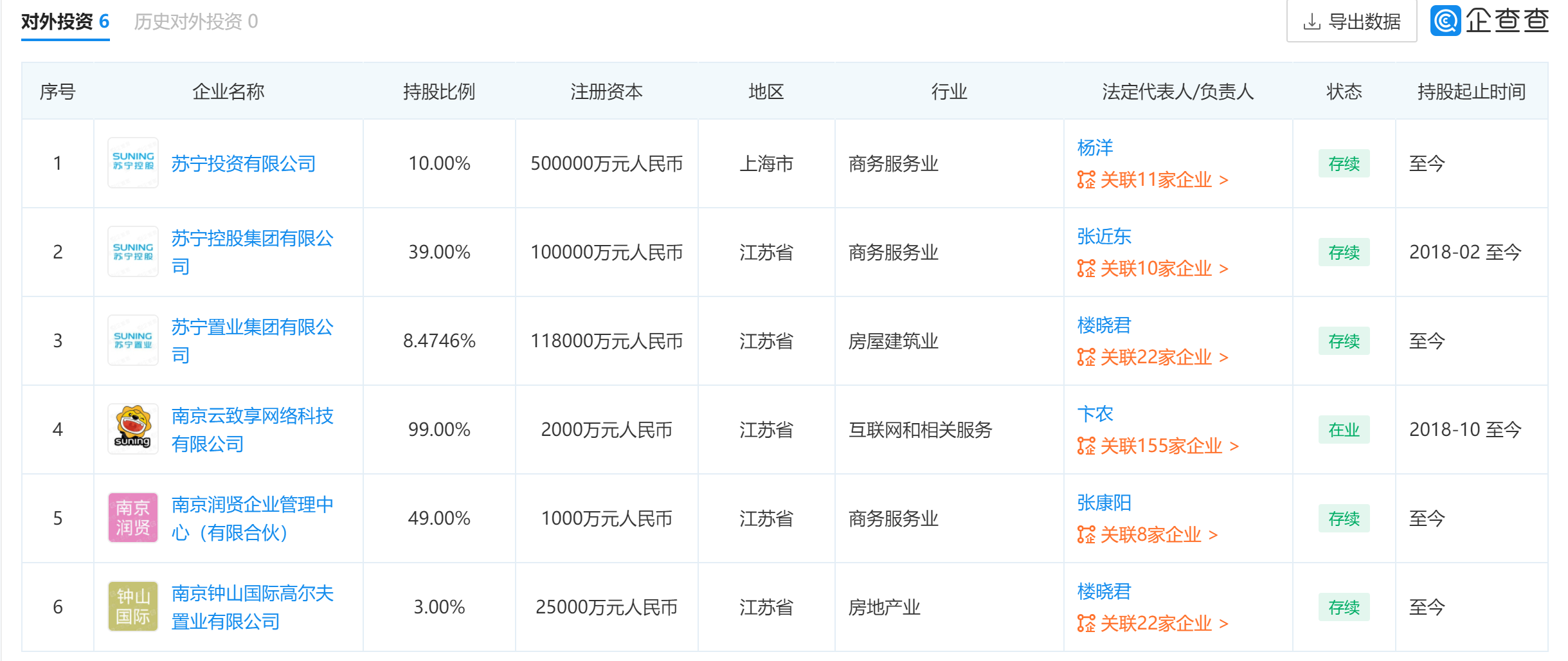
除此外,张康阳对外投资了5家公司,分别是苏宁投资有限公司、苏宁控股集团有限公司、苏宁置业集团有限公司、南京云致享网络科技有限公司、南京钟山国际高尔夫置业有限公司。

来自企查查
更值得注意的是,张朝阳在2019年至2021年间已经质押了其在南京钟山国际高尔夫置业有限公司、苏宁控股集团有限公司、南京云致享网络科技有限公司超过95%的股权。南京云致享网络科技有限公司便是苏宁便利超市(南京)有限公司(苏宁小店)的全资股东。
除了苏宁控股集团有限公司的股权出质给了淘宝,其他两家的质权人星链商业保理与苏宁智能科技服务有限公司均与苏宁有关系。
其中,据企查查显示星链商业保理的实际控制人疑似张近东。而宁智能科技服务有限公司的全资股东则为一家在香港注册的、名为苏宁智能服务的公司。这家公司持有多家苏宁小店的股权。

来自企查查
通过企查查梳理张康阳的商业版图发现,他持股99%股权的公司共计102家,间接持股的公司高达998家,其中以苏宁小店和苏宁便利店为主。
据了解,2018年10月,苏宁易购公告称,苏宁小店获3亿美元增资,并从苏宁剥离出来。剥离前夕,苏宁小店前7个月亏损2.96亿元,债务达到6.53亿元,净资产为负。
2019年6月,南京云致享完成对“苏宁小店” 的100%股权的受让,苏宁小店不再纳入苏宁易购的合并报表范围。而苏宁易购的参股公司 Suning Smart Life Holding Limited协议控制南京云致享。
此后,苏宁易购通过苏宁国际持有苏宁小店35%的权益,而Great Matrix及Great Momentum合计持有苏宁小店65%的权益。这番眼花缭乱的操作后,亏损的苏宁小店从苏宁易购上市体系中剥离,但似乎并没有被放弃控制权,只是从“爸爸”的口袋里跑到了“儿子“的口袋里。
这样来看,张康阳在庭审现场所说的“在Great Matrix的董事职务和持股是苏宁集团管理层决定和安排的事项”或许为真。
(本文首发钛媒体APP,作者|杨秀娟,编辑|天鹏)
更多精彩内容,关注钛媒体微信号(ID:taimeiti),或者下载钛媒体App
版权归原作者 钛媒体 所有, 如有侵权,请联系我们删除。