
图片来源@视觉中国
文|闻旅
2月16日,中国男足国家队队长蒿俊闵@蒿仔发布的一则讨薪檄文,让武汉长江足球俱乐部有限公司和公司实控人阎志受到舆论热议。而作为武汉长江足球俱乐部有限公司的控股股东,卓尔文旅集团有限公司(以下简称“卓尔文旅”)在进入2022年后,似乎迎来了多事之秋。

企查查显示,4月7日,卓尔文旅新增案号为(2022)鄂1281执459号的被执行人信息,执行法院为湖北省咸宁市赤壁市人民法院,执行标的为9431.59万元。

稍早前的1月19日,卓尔文旅旗下全资子公司长阳卓尔文化旅游投资有限公司(以下简称“长阳卓尔文旅”)同样新增有一条被执行人信息,执行法院为湖北省宜昌市长阳土家族自治县人民法院,执行标的为1382万元。

即2022年以来,卓尔文旅及旗下公司被执行总额已达1.08亿元人民币。
信息显示,卓尔文旅成立于2014年9月,注册资本50000万人民币,公司由阎志和卓尔书店(武汉)有限公司分别持股99.95%和0.05%,经营范围包括对旅游投资、开发及经营,入境旅游业务、国内旅游业务、出境旅游业务,翻译服务,代订机票、车船票,代订酒店,代订旅游景点门票。代理签证服务,会务服务,酒店管理服务,餐饮管理服务,物业租赁服务。
作为各大湖北富豪榜的常客,出身黄冈罗田的阎志在媒体报道中有着某种传奇色彩,从文学领域弃笔从商的他,曾涉猎广告公司、白酒、食品药材等多个产业,后因押注的汉口北国际商品交易中心踩中武汉三镇协同发展的时间节点,该项目由此大获成功;2011年,旗下卓尔智联在港股上市,其借资本高举高打的发展模式由此走向快车道。
2016年,卓尔智联以4.97亿元入股跨境外贸电商兰亭集势,成为其第一大股东,收购嘉宝资本旗下三家公司,组建卓尔金融服务集团有限公司,收购中农网60.49%股权;2017年,卓尔智联收购化工及塑料原材料电商平台“化塑汇”;2018年,卓尔智联建设黑色系金属交易平台—卓钢链;收购宁波海上鲜信息技术有限公司22%股权。
系列扩张由此造就了阎志飞速的财富增长。2017年,阎志以355亿财富位居胡润富豪榜湖北富豪第一名。2018年,卓尔智联也成为武汉首家市值破千亿的企业,当年达到历史股价最高点。
湖北文旅地产“大地主”
借集团高调跨界的东风,卓尔涉足文旅地产的历史较为久远。
早在2010年,阎志开始着手打造其心心念念的“武汉客厅”项目。而卓尔文旅真正起势,应始于2016年1月,彼时,时任贵州凤冈县委常委、县人民政府常务副县长的“80后博士”吴奇凌辞职,出任卓尔文旅集团总裁,同时负责卓尔控股的融资工作,事件引发舆论热议;随后,以2016年5月总投资50亿元、规划总面积3.2万亩的孝感桃花驿小镇项目开工建设为标志,卓尔文旅发展进入快车道。
2017年2月,卓尔文旅总投资5.4亿元的花亭茶溪运动休闲旅游区项目正式开工建设;
5月,卓尔文旅与罗田县政府签订合作协议,将投资50亿元打造罗田“五景区五小镇”项目;
6月,卓尔文旅联合南京丰盛集团、上海景域集团成立湖北大别山文化旅游开发有限公司,共同开发罗田“五景区、五小镇”旅游项目,计划利用3-5年打造一个旅游上市公司,一个5A级景区;
12月,卓尔文旅与武汉东西湖区签订10亿元开发协议,拟将石榴红村打造成旅游+文化、农业、研学等为一体的综合性旅游度假区;
2018年6月,卓尔文旅与黄陂区政府签订投资框架协议,拟投资200亿元,在木兰生态旅游区打造集木兰文化风情小镇、木兰宗教文化景区、木兰田园康养区为一体的文化旅游产业生态圈。
应是受业务的飞速扩张触动,2018年7月,卓尔文旅集团有限公司举行成立大会暨揭牌仪式,新成立的卓尔文旅集团有限公司,由武汉卓尔文旅集团有限公司、武汉卓尔智城集团有限公司整合重组而成,囊括卓尔旗下全部文旅、地产开发项目。
按照阎志彼时的想法,卓尔大文旅产业全面整合后,将与卓尔智联集团形成大智联、大文旅两翼齐飞的产业格局,为卓尔企业高质量发展提供强劲支撑。其强调,新的卓尔文旅集团要志存高远,致力于打造中国顶级文旅企业,将优秀的文旅IP扩展到全省、全国,建立良好的商业模式,探索创新理论体系,经过3-5年的努力,力争实现千亿销售、千亿资产、千亿市值的宏伟目标。
以此为基础,卓尔文旅的势力范围开始跳出环武汉城市圈,扩大至以省域为界甚至跨省,一场狂飙突进的文旅地产“圈地运动”由此启幕。
2018年8月,卓尔文旅分别与恩施市及咸丰县政府签署投资协议。总投资30亿元建设恩施市富尔山国际生态休闲度假区和咸丰卓尔国际康养度假小镇;
同月,卓尔文旅与潜江市政府签署投资合作协议,建设曹禺文化旅游城、潜江客厅综合体、湖北返湾湖国家湿地公园生态修复三大项目。其中,曹禺文化旅游城总规划面积约2000亩,湖北返湾湖国家湿地公园占地面积1.16万亩;
10月,卓尔团陂温泉国际度假村项目正式开工。作为浠水县和卓尔控股重点打造的文旅项目,该项目总投资20亿元,总规划面积约3000亩;
2019年5月,卓尔控股与黄冈市政府签署全面战略合作协议,拟在全域旅游、通航网络等领域展开全方位合作;
11月,中国农业银行湖北省分行与卓尔智联集团、卓尔文旅集团等企业在汉签署金融合作协议,将为卓尔企业集群提供总额度220亿元的综合授信。
受疫情冲击,卓尔文旅的扩张在2020年初按下暂停键;而在湖北疫情防控取得阶段性成果、文旅产业尚未解冻之时,卓尔文旅便已重启进击。从3月起,其相继在恩施、宜昌、竹山县、荆州、黄石、神农架、十堰等地签约拿下多宗文旅地块/启动开发,总投资额达数百亿之巨。
以2020年6月签约的卓尔(黄石)文化旅游城为例,系列投资预计总投资额约320亿元,其中磁湖·南岸新城项目占地约2100亩,投资额约260亿,建设内容涵盖胡家湾商业综合体项目、李家坊片智慧新城、铁路西站文化创意区、高端教育区以及黄荆山温泉度假、旅游、天坑酒店等。
“以‘文旅农体养’五位一体融合发展的模式,带来了全新的生活方式,正成为未来文旅产业的发展方向。”按照阎志此前的说法,卓尔文旅近年来的丰富实践与业态探索将文化产业、现代旅游、高端农业、休闲运动、健康养生等产业紧密渗透、跨界互动,以优秀传统文化和特色区域文化为底蕴和纽带,融农耕文明、绿色休闲、时尚生活于一体,交织成为一种全面舒展身心的新生活方式,正成为现代旅游业发展的主流趋势。
形势变幻下如何走向未来?
尽管阎志对卓尔文旅的未来抱有足够期待,但自2020年1月卓尔控股将武汉卓尔队股权转让至卓尔文旅集团有限公司旗下后,以2021年2月武汉卓尔球员周通在微博发文控诉卓尔俱乐部拖欠工资,随后足协发布公告禁止武汉足球俱乐部注册新球员为标志,卓尔文旅的资金链和业务运营状况似乎逐步显现某些异样。

2020年8月,华谊兄弟与武汉市人民政府、卓尔集团共同签署战略合作框架协议,但时至今日,该电影小镇项目迟迟未见落地。
闻旅从人民网领导留言版、武汉城市留言板等相关平台搜索发现,自2021年起,关于卓尔文旅旗下项目拖欠民工工资、长期停工、签约后迟迟无法落地(以与华谊兄弟合作的电影小镇项目为代表)等在内的各种投诉接连出现。

尽管资金链承压,但信息显示,自2021年8月以来,卓尔文旅新增4家全资子公司,分别为湖北卓尔天堂寨民俗旅游开发有限公司、黄冈卓尔会展有限公司 、罗田卓尔胜利小镇商业运营管理有限公司、浠水巴河卓尔康养文化发展有限公司,注册资本共计3.1亿元。
而在快速扩张的同时,除了将旗下子公司变为孙公司之外,卓尔文旅却又在持续卖出旗下项目公司。相关信息显示,自2021年6月以来,卓尔文旅相继退出了武汉春田农业发展有限公司、武汉万豪瑞吉酒店管理有限公司、武汉黄花涝水岸古镇开发有限公司、卓尔文旅(神农架)有限公司等在内的股东序列。
进入2022年1月,以罗田县旅游投资开发有限公司与卓尔文旅旗下湖北大别山文化旅游开发有限公司签订移交协议,接管天堂寨风景区经营管理权为代表,卓尔文旅当初进军罗田旅游业时高调宣布“计划利用3-5年打造一个旅游上市公司,一个5A级景区”的愿景,或已无法实现。
尽管冠以各类文旅+的综合业态之名,以所谓“农文旅体养”新模式“造血式”、“开发式”扶贫,与革命老区、贫困地区结成和谐发展的“命运共同体”。但在观察者看来,卓尔文旅以卖房反哺运营的商业模式,与传统开发商借文旅之名低价拿地的逻辑并无明显差别。
客观而言,作为湖北本地的龙头民企,对地方人脉较为熟悉的卓尔文旅在拿地效率上或许拥有明显优势。而受疫情冲击,文旅地产的市场环境已经发生巨变,过往单线条的卖房模式再难以为继,其对操盘者在IP引入、业态组合、内容营销等方面的核心运营能力提出了更高要求。
回看卓尔文旅新增案号为(2022)鄂1281执459号、执行标的为9431.59万元的被执行人信息,旗下卓尔赤壁文化旅游投资开发有限公司同在被执行人之列。信息显示,该公司为万亩茶园俄罗斯方块小镇项目的操盘方,项目总投资5.4亿元,规划面积4600亩。建设有俄罗斯风情商业街、卓尔·航空体验园、喀秋莎会客厅、四季茶溪花海、卓尔·青少年足球基地、星空露营地、水上休闲游乐场、茶文化中餐厅、度假酒店等项目,浓缩欧亚万里茶道文化精华,体现中俄茶文化发展交流历史,将羊楼洞青砖茶文化及俄罗斯风情具象浓缩于小镇。
闻旅查询发现,尽管该项目早在2018年国庆节前夕已经正式开业,但时至今日,携程上用户点评仅有11条,评分仅为3.5分,且最近的1条评论停留在2021年5月,门票累计销量仅为24张;而项目官方微信最近一次更新信息为招商公告,时间同样停留在2021年11月,系列讯息折射出的项目运营之颓势可见一斑。



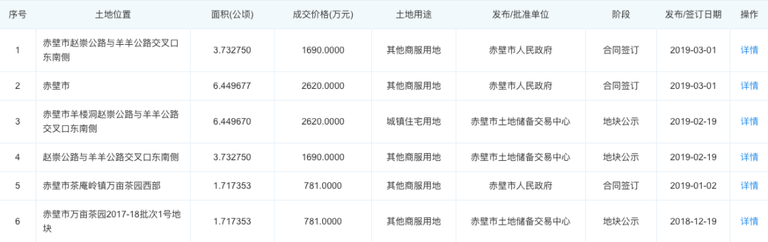
项目运营板块陷入窘境之外,其地产销售板块面临的未来愈发艰难。企查查信息显示,紧随万亩茶园俄罗斯方块小镇项目的开业,卓尔赤壁文化旅游投资开发有限公司在2018年12月~2019年3月以约5000万的成交总价,在赤壁拿下面积总计约12万方的三宗其他商服/城镇住宅地块,其中城镇住宅地块为6.45万方。

而根据官方数据,截至2022年1月31日末,赤壁已批准预售尚未售出的商品住房6280套,面积72.21万平方米。对比2021年同期,上述两项数据分别为3527套、44.69万平方米。人口方面,根据七普数据,咸宁常住人口为265.83万人,与六普相比增加19.57万人,但赤壁市常住人口为47.04万人,与六普相比却减少0.8万人。
以此来看,占据环武汉8+1都市圈地利优势的俄罗斯方块小镇项目尚且如此,在常疫情时代文旅地产市场形势剧变下,卓尔文旅旗下那些地处鄂西的文旅地产项目,其面临的挑战之艰巨不言自明。

恰如此前景鉴智库创始人周鸣岐对闻旅分析,文旅行业的跨界案例很常见,很多传统行业出身的老板可能会认为这个行业很普通,但其实涉及到其中的窍诀门路、红线禁区、业态组合、营销套路等在内的问题很复杂,如果对文旅行业缺乏深入的了解和严谨的调研,项目很容易陷入运营困境,受疫情影响,未来文旅度假项目从过去依赖物业销售向靠运营盈利加速转变,诸如文旅小镇/仿古街区等为代表的套路逐步势微,而以景区度假化为特征的产品模式革新,将推动行业生态迎来新生。
回到阎志当初的设想,“经过3-5年的努力,力争实现卓尔文旅千亿销售、千亿资产、千亿市值的宏伟目标”,卓尔文旅的这一目标究竟该如何实现?闻旅将保持关注。
更多精彩内容,关注钛媒体微信号(ID:taimeiti),或者下载钛媒体App
版权归原作者 钛媒体 所有, 如有侵权,请联系我们删除。