
12月22日,广东汇成真空科技股份有限公司(下称“汇成真空”)将创业板IPO上会,公开发行不超过2500万股。公司此次欲募集2.35亿元分别用于研发生产基地项目、真空镀膜研发中心项目、补充流动资金。

钛媒体APP注意到,虽然汇成真空的业绩持续增长,但却仍多次因业绩承诺不达标而对赌失败。募投项目方面,汇成真空此次欲用74.47%的募集资金用于研发,虽然说是研发,但实则或许为了“扩场“。
对赌频失败
汇成真空是一家以真空镀膜设备研发、生产、销售及其技术服务为主的真空应用解决方案供应商,主要产品或服务为真空镀膜设备以及配套的工艺服务支持。

2019年-2021年和2022年1-6月(下称“报告期”),汇成真空分别实现营业收入29541.2万元、39239.54万元、53416.07万元、30677.34万元,净利润分别为2098.31万元、5136.47万元、7001.6万元、3011.96万元。
虽然汇成真空业绩持续增长,但其业绩却频频对赌失败。据悉,汇成真空2017年引入鹏晨创智、朱雪松、西藏佳得加、夏侯早耀、深圳宁濛瑞,约定汇成真空2017看、2018年净利润分别不低于3750万元、4100万元;2018年引入南山架桥、鹏晨源拓、夏侯早耀、深圳宁濛瑞,约定汇成真空2018年至2020年净利润分别不低于5000万元、6500万元、8000万元。
2021年8月,由于汇成真空业绩未达标,李志荣(汇成真空实控人之一)将其持有汇成真空的121.44万股股权分别转让给夏侯早耀、朱雪松、西藏佳得加、鹏晨创智、南山架桥、鹏晨源拓和马巍;罗志明(汇成真空实控人之一)将其持有汇成真空的81.4万股股权分别转让给深圳宁濛瑞和南山架桥;李志方(汇成真空实控人之一)将其持有汇成真空的51.55万股股权转让给南山架桥。这也意味着,上述对赌均以失败告终。
钛媒体APP注意到,汇成真空的盈利质量也不佳。报告期内,汇成真空经营活动产生的现金流量净额分别为-11769.21万元、882.79万元、2233.64万元、8195.85万元,与净利润的比值分别为-5.61、0.17、0.32、2.72。
募资为研发,实则是“扩场”
汇成真空此次欲募集23500万元,其中1亿元用于研发生产基地项目,7500万元用于真空镀膜研发中心项目。换言之,汇成真空此次IPO募资总额的74.47%用于了研发。虽然上述两个募投项目均是与研发相关,但从细分领域上看,却是为了**“扩产”**。
招股说明书显示,研发生产基地项目共需要2亿元的资金,其中1亿元汇成真空“自掏腰包”,剩下1亿元依靠募集资金,该项目的建设投资金额为19671.09万元,项目建设完成后,汇成真空将新增将建设51939.93平方米仓库与厂房;真空镀膜研发中心项目合计花费7500万元,其中建筑工程及其他费用的金额为552.5万元,设备购置及安装工程费用为4726.36万元,项目建设完成后汇成真空将新增研发车间1500平方米,研发办公室500平方米,配套设施50平方米。
从人员架构上看,汇成真空的董事会主要由7名成员构成,其中3名成员为独立董事,且除了独立董事之外,剩余成员的学历均为大专。高级管理人员主要由6名成员构成,其中除了副总经理、董秘肖献伟的学历为硕士之外,其余成员的学历均为大专及以下。汇成真空被一群学历在大专及以下的成员的带领之下逐渐一步步成为创业板上市公司。值得一提的是,2019年7月就已经在汇成真空入职的独立董事张军,其2021年的薪酬为0元。为何张军“免费义务”为汇成真空“打工”?
与竞争对手合作,“买卖不成、仁义也不在”
钛媒体APP注意到,报告期内,汇成真空还曾与竞争对手进行了合作,并且似乎“赔了夫人又折兵”。
2019年3月,汇成真空和日本光驰全资子公司上海光驰合资设立汇驰真空。2022年3月,上海光驰对汇成真空、罗志明、李志荣提出了仲裁,因汇成真空、罗志明、李志荣违反了相关合资合同、收购协议之约定以及触发了股权收购条件,并要求汇成真空支付向其支付违约金8000万元等。
2022年9月,汇成真空、李志荣、罗志明与上海光驰就上述仲裁案件达成和解协议,约定汇成真空向上海光驰支付和解补偿款2100万元,且承诺并保证,汇成真空及其关联方在上海光驰2022年4月6日退出汇驰真空后的1年内,均不得从事与上海光驰及其股东2019年2月《合资合同》签订时的Apple客户相同的业务或产品,不与上海光驰及其股东在上述客户范围内构成竞争。
值得一提的是,日本光驰为境外上市公司,主要从事光学薄膜设备及其相关零部件的制造和销售,与汇成真空为竞争对手。也就是说,汇成真空与竞争对手之间还进行了合作,且最后闹得“买卖不成,仁义也不在”。

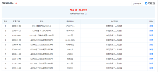
数据来源:天眼查
除了上述案件之外,天眼查显示,汇成真空曾先后10次成为了被执行人,涉案金额合计约为763.12万元。为何汇成真空会与竞争对手合作?为何多次成为了被执行人?有关上述问题,钛媒体 APP 发函至公司,但截至截稿,没有收到公司的回复。(本文首发于钛媒体** APP**,作者|邓皓天)
更多精彩内容,关注钛媒体微信号(ID:taimeiti),或者下载钛媒体App
版权归原作者 钛媒体 所有, 如有侵权,请联系我们删除。