
图片来源@视觉中国
文|闻旅
企查查显示,10月11日,贵州多彩贵州城建设经营有限公司新增两条被执行人信息(案号分别为(2022)黔0102执10989号、(2022)黔0102执10988号),被执行总金额为5475.71万元。

01
信息显示,贵州多彩贵州城建设经营有限公司成立于2004年5月,注册资本200000万元,公司原名贵州世纪神奇产业投资有限公司,早前由贵州乌江能源投资有限公司控股,2019年2月,公司变更为贵州旅游投资控股(集团)有限责任公司(以下简称“贵州旅投集团”)控股,同年11月变更为由贵州旅投集团全资控股。
作为贵州国资委旗下专业从事旅游产业投资经营的大型国资旅游集团,贵州旅投集团成立于2012年11月,注册资本342384.52万元,根据官网信息,目前贵州旅投集团围绕景区运营、旅游交通与康养、旅游商贸、旅游金融、旅游地产、旅游科技、爽爽漂流在内的7大产业布局。
聚焦贵州旅投集团旗下旅游地产业务,贵州多彩贵州城建设经营有限公司开发的多彩贵州城项目为其中代表。该项目毗邻贵阳龙洞堡国际机场和汽车客运东站。规划总占地面积7696亩、总建筑面积750万平方米,有“多彩民族风、贵州旅游母港、贵阳城市客厅、航空港经济综合服务区”四大功能板块,涵盖23个主要业态,总投资高达420亿元。
按照官方资料,多彩贵州城项目自启动以来得到贵州省和贵阳市及有关部门领导的高度重视和大力支持,项目被称为“贵州对外展示的重要窗口,在全省旅游业发展中具有特殊重要性”,先后被评为“国家级文化产业示范基地”、“贵州文化旅游十大重点项目”、贵州5个100工程中的旅游景区和城市综合体“双100”重点项目。

尽管定位甚高且投资巨大,但查询可以发现,目前多彩贵州城内核心文旅内容仅有极地海洋世界、名人蜡像馆和1958文化创意园,其中极地海洋世界占地20亩,建筑面积18000多平方米,总投资达5亿元,于2016年9月开业,是贵州省首家以海洋生物观赏、海洋动物表演和海洋科普宣传为主的大型海洋主题展馆。而从网评来看,除该项目运营情况尚可外,其余项目亮点乏善可陈,离所谓“贵州全域旅游的风景眼和集散地”更是差距明显。
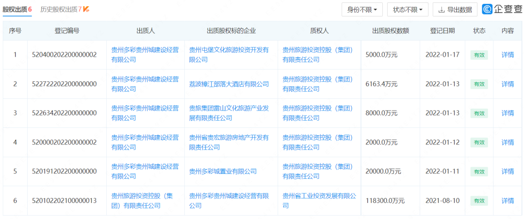
或许是为缓解资金压力,信息显示,在2022年初,贵州多彩贵州城建设经营有限公司将其持有的包括贵州多彩城置业有限公司、贵州省贵宏旅游房地产开发有限责任公司、贵旅集团雷山文化旅游产业发展有限责任公司、荔波樟江部落大酒店有限公司和贵州屯堡文化旅游投资开发有限公司股权质押给贵州旅投集团。而紧随其后,旗下多家公司相继陷入债务困境。
根据企查查信息,9月28日,荔波樟江部落大酒店有限公司被限制高消费;此前的9月1日,贵州屯堡文化旅游投资开发有限公司新增一条被执行人信息,目前公司被执行总额9782.18万元;而在更早前的6月,贵州省贵宏旅游房地产开发有限责任公司新增2条被执行人信息,目前公司被执行总额为364.3万元。
以文旅地产为主营业务之一,贵州旅投集团旗下遭遇困境的项目并非只有多彩贵州城。企查查显示,由贵州旅投集团持股22%的贵州美佳林城公园投资控股集团有限公司,目前已经有5条失信被执行人信息,失信被执行总额为6229.26万元,限消令13条,股权冻结信息5条,终本案件未履行总金额更是高达26531.43万,同时,旗下包括贵州国家公园旅行服务有限公司、贵州灵达房地产开发有限责任公司、荔波县鑫懋源房地产开发有限责任公司等在内的多家子公司均已深陷债务危机。
02
除文旅地产外,近来贵州旅投集团“舆论反响强烈”的另一业务,缘于旗下子公司——贵阳玉贝商务有限责任公司。该公司成立于2008年6月19日,经营范围包括酒类经营;商务信息咨询服务(不含投资、融资理财,投资、融资理财咨询业务,不得从事非法集资,非法吸收公众存款等违法金融活动,不得从事未经批准的金融活动)。
根据官网信息,截止2021年11月底,贵阳玉贝商务有限责任公司(含贵阳分公司)实现营业收入22.03亿元,营业成本16.27亿元,利润总额5.05亿元;资产总额32.12亿元,负债总额22.77亿元,所有者权益9.35亿元,资产负债率70.89%。
贵阳玉贝商务有限责任公司能实现如此高额利润,因其具有有茅台酒经销权。但闻旅查询人民网领导留言板、黑猫投诉等平台发现,自2021年3月起,关于“贵旅优品”平台无法体现、补发商品长期拖欠、客服联系不上、无故冻结账号等诸多投诉。

2022年2月,贵阳玉贝商务有限责任公司召开2022年重点工作务虚会中提到,将着力改造“贵旅优品”平台,以技术为支撑,以理念为灵魂,以管理为核心,打造数字化旅游商品平台。而截至目前,针对黑猫投诉平台上的所有相关投诉,贵州旅投集团仍未做出回应。
值得注意的是,作为对系列债务危机和业务乱象的“回应”,就在近期,围绕贵州旅投集团的前任/现任管理层问题,一轮整顿风暴就此展开。
2022年7月,贵州旅投集团原董事长(2015年12月~2018年12月)余泠被查;2022年1月,贵州旅投集团原董事长(2012年11月~2013年11月)余学强被查;2019年12月,贵州旅投集团原副董事长程勇被查;同月,贵州旅投集团副总经理杨竞被查。
回到贵州旅投集团的愿景,根据官网信息,“十四五”期间,贵州旅投集团立足贵州、辐射全国,聚焦文化旅游、旅游商贸、旅游地产三大主业,布局以旅游科技、旅游金融、旅游制造等为主的“旅游+”“+旅游”产业融合新业务。全力打造成为文化旅游产业专业型投资性企业、旅游要素综合服务平台企业、旅游综合产业集群化企业,充分发挥贵州文化旅游产业龙头企业、领军企业功能定位,着力推动贵州旅游产业化和高质量发展。
尽管愿景宏大,但以目前的债务困境来看,贵州旅投集团要想扭转颓势显然任重道远。尤其要指出的是,置身宏观环境剧变的大背景,贵州旅投集团若继续过度押注文旅地产,未来其面临的形势很可能愈发严峻。
聚焦贵州旅投集团文旅地产业务大本营贵阳,根据贵阳市统计局公布的数据,2022年1~8月,贵阳市住宅销售面积为490.78万方,同比下降13.7%,销售金额为441.76亿元,同比下降13.6%;进入9月,爆发的疫情更是重创贵阳楼市,贵州省房地产业协会发布《贵阳市房地产运行月报》显示,9月贵阳市商品房销售备案1331套,备案面积14.99万方,同比下降70.19%,环比下降75.30%;成交合同金额15.47亿元,同比下降68.19%,环比下降72.41%。
更多精彩内容,关注钛媒体微信号(ID:taimeiti),或者下载钛媒体App
版权归原作者 钛媒体 所有, 如有侵权,请联系我们删除。