
图片来源@视觉中国
文 | vb动脉网
据彭博社报道,科技巨头苹果正在推进无创连续血糖监测项目的研发并取得了重大进展,未来有望整合在Apple Watch上。消息一出,海外的德康和国内的三诺医疗等血糖监测行业的公司,股价一度跳水。
理性分析,苹果这项技术,虽然直接竞争对手是CGM领域众多公司,但产品从推出到完善,真正与CGM抢占市场仍需很长的时间。据灼识咨询的预计,2030年全球血糖检测市场规模将有365亿美元,面对苹果这样巨头的加入,市场将面临更多的变局。
从另一角度来说,一个项目让苹果这样的巨头花了13年时间才迎来突破,其中的难度可想而知。而一旦踏出了第一步,意味着最艰难的部分已经结束,未来会更加可期。
神秘小组掀波澜,无创血糖露峥嵘
苹果的无创血糖项目持续了多年,最早可追溯至乔布斯时代,在乔布斯身患重病之后,将更多关注的目光投向了健康领域,而无创血糖项目正是乔布斯在2010年亲自定下的。或许也正基于此,苹果才能坚持了13年。
据彭博社报道,这项被称为E5的秘密项目最近取得重大突破之后,苹果认为可以将该项技术推向市场。
承担这个项目的,是神秘的XDG(Exploratory Design Group)团队,按常规英文缩写其实应该叫EDG,而用X取代E也是表明一种对于未来探索的态度。它和谷歌X实验室很相似,都是承担了科技巨头对于未来新兴技术的探索。
和谷歌工程师们天马行空的项目不同,XDG做的探索更加务实,如电池、下一代显示技术、无线充电、芯片、人工智能等,同时AR/VR项目也是由它主导。之前XDG开发的许多芯片和电池技术已经在iPhone、iPad和Mac电脑中运行多年。
能取得这样的成绩和XDG团队架构有很大关系,被乔布斯和库克视为苹果最顶级工程师的Bill Athas曾长期领导此团队。XDG内部项目之间保持独立,人员以工程师和科学家为主,XDG主要负责对某个技术或项目进行验证,如果验证通过,新技术将会转交到硬件团队或软件团队,由他们融合到相关产品中。
此次无创血糖获得突破的新闻一经爆出,便引发关注,也是因为如果技术经由XDG验证通过,离产品的诞生或许就不远了。
这项技术的最终目标是集成于Apple Watch中。
作为营收的重要组成部分,Apple Watch在苹果产品矩阵中占据重要地位。据市场调查机构Counterpoint公布的数据显示,2022年苹果Apple Watch出货量占全球市场的34.1%,是全球销量最高的品牌,并且占据全球智能手表领域60%的营收,可谓是无可争议的霸主。
超高的市占率也意味着产品销售的天花板将逐渐临近,除非市场规模进一步扩大,而糖尿病患者,正是苹果的目标。
据 IDF(国际糖尿病联盟,InternationalDiabetesFederation)2021年全球糖尿病报告统计数据显示,全球成年糖尿病患者已达5.37亿,并推测到2045年,这一数字将达到7.83亿。
正是基于如此辽阔的市场和苹果品牌的号召力,二级市场上专注血糖检测、特别是连续血糖监测CGM的厂商,股价迎来下跌。但事情真的就会朝此方向发展吗?可能没那么容易。
无创测血糖,苹果怎么做?
无创血糖监测并非是新概念,而是众多从业者努力的方向。
目前市场上已经普及的,较为方便的血糖测量方式都离不开扎针,也就是有创检测。即便是新兴的CGM仍需以微创方式刺开皮肤,并且使用费用较为高昂。与有创、微创类血糖检测技术相比,无创血糖监测技术除了能减轻患者痛苦外,基本没有后续费用,一次投入,长期使用。
然而,多年来阻碍着无创血糖监测普及的,是精度。苹果又是如何去解决的呢?
虽然项目由XDG团队负责,但为了保密,苹果以Avolonte Health公司的名义进行项目研发,并将Avolonte Health的办公地址设在苹果总部之外,以至于很多员工都认为自己工作在一家初创公司。为了加快研发节奏,苹果收购了专注于无创血糖检测技术的RareLight,RareLight的研发团队加入后确实为Avolonte Health带来不少提升。此外,Avolonte Health的专利中也透露出了苹果无创血糖的技术路径。
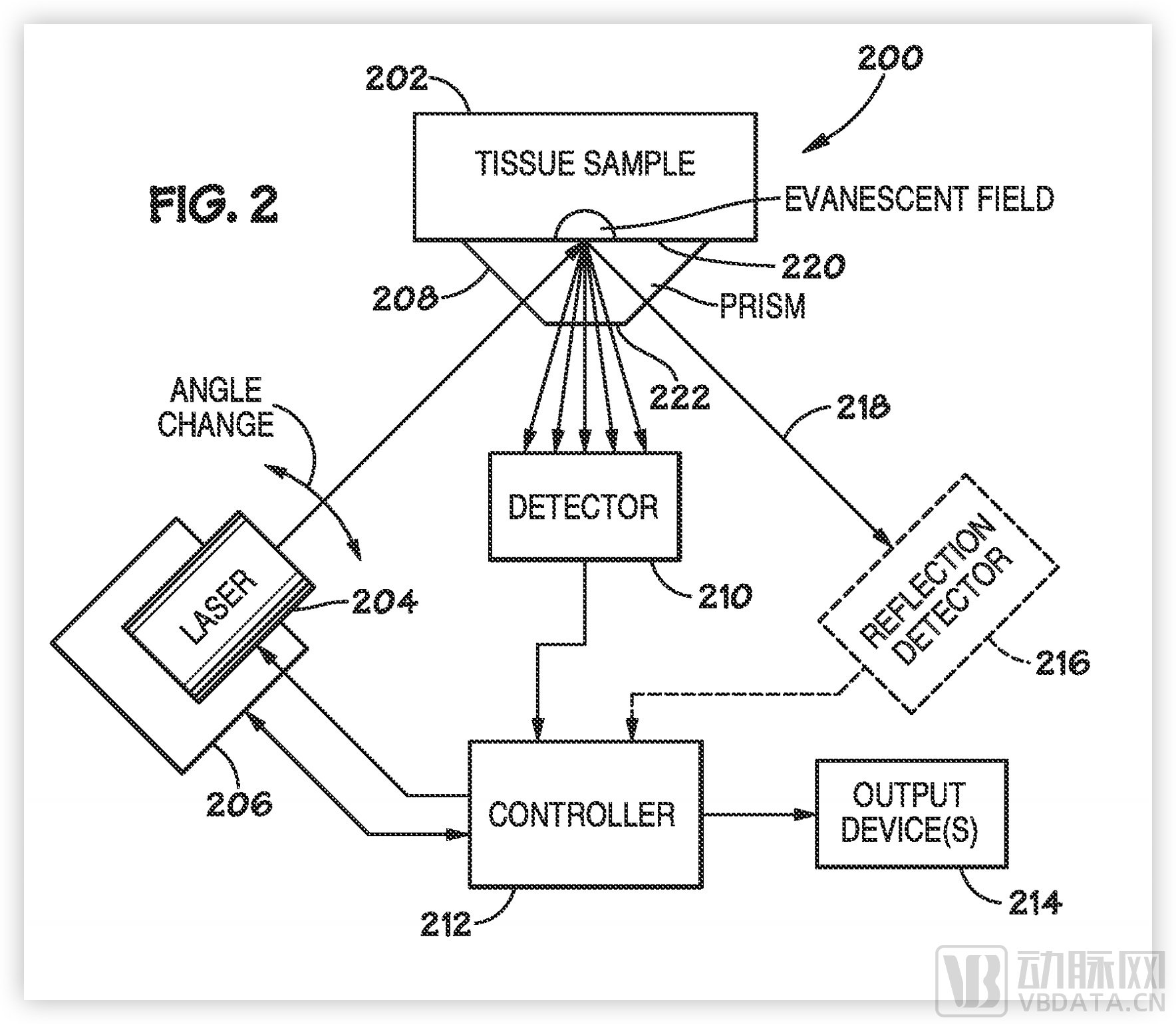
目前,无创测量血糖的方式大致能分为光学类无创血糖检测方法与非光学类无创血糖检测方法两大类。

无创血糖检测主要技术路径
光学类检测法以光作为信息载体,将一束光聚焦在人体上,利用传输光的强度、相位、偏振角、频率以及靶区组织散射系数等信息与血糖浓度密切相关的特点,通过提取这些信息的改变间接计算血糖浓度。
根据光波波长和作用机理不同,光学类检测法又可分为多种。比如和血氧检测相似的近/中红外光谱法,这项技术虽然成熟,但人体内的水、蛋白质、脂肪等成分与葡萄糖的吸收峰存在重叠。此外,测量部位的温度、湿度、光的入射面积、角度等测量条件的变化都会直接影响测试结果,因此多年来并无实质性突破。

Avolonte Health关于无创血糖测量技术相关专利,数据源于美国专利商标局
Avolonte Health的专利中有不少针对拉曼光谱系统的改进方法和装置,而拉曼光谱正是被视为红外光谱的替代技术。
拉曼光谱根据激光作用于被测物时形成的拉曼散射与瑞利散射之间的频率差来确定物质的分子结构,进而测定不同物质的成分,因此被视作分子识别的“指纹”光谱。与红外光谱相比,拉曼光谱的谱峰清晰尖锐,峰强度与所测物质活性成分的浓度呈正相关。据此可对生物体的某些成分进行定量分析,因此被认为是最有希望实现无创血糖检测的技术之一。
虽然被视为希望,但这些年拉曼光谱有几个问题尚待解决。一是设备体积问题;二是采集过程中由于人体活动、压力、角度等外部因素造成的信号稳定性问题;三是个体差异对于算法的干扰。
近几年,拉曼光谱法取得了里程碑式的进展。科学家在活体猪身上,直接观察到活体皮肤上的葡萄糖拉曼峰,其信号强度与参考葡萄糖浓度成正比,从而消除了长期以来关于经皮葡萄糖传感器是否可以在体检测到葡萄糖拉曼光谱的质疑。Avolonte Health专利中针对拉曼光谱法进行了改进,用于提高测量准确性,达到稳定信号的目的。

Avolonte Health拉曼光谱发射装置专利图,图源美国专利商标局

苹果之前和Rockley Photonics合作,开发硅光子技术,使用激光将特定波长的光发射到皮肤下方的区域,之后通过算法分析传回的光学吸收光谱来确定血糖水平。尽管在2021年双方分道扬镳,但Rockley在其2023年投资者分享会议中提到产品将在2025年问世。考虑到Rockley现在的经营状况(已申请破产),苹果的进度无疑会更靠前一些。
可以预见的是,苹果最终会继续自研完善硅光子技术,实现基于拉曼光谱的“片上光谱仪”模式,对多模式生物标志物(例如葡萄糖、乳酸、水合作用、血压和核心体温)进行连续、非侵入式监测,由此数据进行科学干预从而改变消费者的健康状况。
据新闻爆料,硅光子芯片将由台积电代工,目前苹果无创血糖产品的原型机体积和一台iPhone类似。以苹果的软硬件整合能力,未来几年内将它们融入Apple Watch并非难事。又或许,它的第一次商业化,可能率先会整合在iPhone上。

太赫兹光谱相关专利图,图源美国专利商标局
此外,苹果在2021年还申请了多项关于太赫兹光谱成像性能相关解决方案的专利。虽然专利文件中并没有提及血糖检测相关的话题,但此前众多研究发现,太赫兹波在0.1~2.0THz下可以检测人体和老鼠的血糖含量变化。尽管太赫兹技术目前还存在成熟度不足的问题,但苹果已提前进行相关布局,可以肯定的是,对于无创血糖检测,苹果相当认真。
道路并非只有一条,但苹果暂时领先
采用拉曼光谱法的并非只有苹果一家。之前美国C8 MediSensors公司的无创血糖仪也采用此方法,但它需要用一根腰带将设备紧贴皮肤束在腰间,工作时仪器将一束单色光照射皮肤,并检测返回的频谱。使用上极为不方便,并且人体运动过程中,腰部信号采集的稳定性也不佳,因此并未打开市场。
除了光学方法还有非光学方法,它主要是通过测量人体内热量、葡萄糖相位或电特性来推导出血液中的葡萄糖浓度,或是测量人体内血糖相关物质或物理特性来间接推导血糖值。
如代谢热整合法就是通过代谢产生的热量与血糖浓度、供氧量的函数关系进行计算,最终得到血糖浓度数值。2019年,博邦芳舟医疗与清华大学合作研发的基于代谢热整合法的无创血糖仪获得首张由国家药监局颁发的三类医疗器械注册证。
另一科技巨头谷歌,也曾用血液替代物测定法来攻克无创血糖。谷歌希望通过植入隐形眼镜中的微型传感器检测泪液中的葡萄糖含量,但经过数年进展不大,最终被放弃。虽然谷歌折戟,但还有其他研究团队继续以泪液作为生物标志物进行研发,开发了诸如石墨烯-AgNW复合传感器和安培传感器,通过使用葡萄糖氧化酶来检测泪液中的葡萄糖,因此泪液仍然是进行无创血糖检测中一个非常有前途的靶点。

无创血糖检测的主流技术路径
总的来说,光学类无创血糖检测法虽然使用方便,但存在血糖对光谱的吸收特性复杂多变、对检测灵敏度要求高、易受环境影响等不利因素,并且多数技术路径的准确性和稳定性尚未达到临床应用的要求。尽管也有以色列Cnoga公司的无创血糖产品实现了商品化,但其需要采集130次有创血糖数据和65次无创光信号数据进行学习校准,并不利于推广。
而在非光学类无创血糖检测法中,其它无创血糖检测法如血液替代物(汗腺、唾液、泪液、呼气等)测定法等皆处于实验室研究探索阶段,有效性还有待验证。
每天数次的有创血糖检测对糖尿病患者来说是极大的负担,日常测血糖次数不足、病情管理不到位成为常态。虽然宣布研发的无创血糖产品有数十种,但真正通过FDA、NMPA认证的却寥寥无几。即便是获得认证的产品也因为各种问题,并没有在市场上掀起波澜。考虑到苹果在市场上的号召力,以及多年来对于用户使用体验的坚持,或许未来几年,苹果能开创出不一样的局面。
手腕生态的再次进化
多年以来,苹果想要做的,并不是一款简单的手表。
尽管Apple Watch发布之初走的是时尚路线,但其背后蕴含着苹果对于下一代智能终端平台的期望,而健康功能则是其中重要的模块。
2014年,初代Apple Watch发布,这款手表集成了一个心率传感器,用于健身追踪。2018年,Apple Watch配备了能够从手腕获取心电图ECG功能。2021年,第七代Apple Watch除了更大的屏幕,最重要的是针对为残障人士设计的一系列功能。此外,在疫情期间,苹果推送了能够全天监测血氧饱和度的功能。而最新的第8代Apple Watch,则在健康、安全方面做了诸多探索。
随着众多健康功能的升级迭代,以及包括Capital One、SAP、Salesforce和IBM在内的企业都为Apple Watch开发了用来快速访问协作和信息管理工具用于医院、执法、公共安全部门使用。使得Apple Watch已经从iPhone的附属品,逐步成为能够独立于iPhone使用,并且有自身生态的平台型产品。
无创血糖技术的突破,再加上苹果软硬结合打造生态的能力,未来首当其冲被苹果疯狂内卷的,或许不是股票大跌的CGM行业,而是智能穿戴行业。
“对自己的健康越了解,就越有办法去改善”,这是Apple Watch宣传页面中的一句话,也点出了智能穿戴设备的核心本质——通过各项传感器让用户更了解自己,并进行科学干预。
过去,无论是心率监控、血氧检测以及体温感应,所获得的数据相对表面,而用于无创血糖检测的传感器能够更深入地挖掘人体更多生理数据,除了常规的心率、血氧、体温外,对于血压、血糖、酒精及乳酸的探测都能更立体地展现人体生理状态,基于此所做出的干预建议更加科学合理。
作为市占率超过30%的行业龙头,苹果如果再次进化,对其余竞争对手而言将是降维打击。
无独有偶,另一家科技巨头华为,也在无创血糖方面有所布局。在华为开发者大会(HDC 2022)上,对外公布了科学睡眠、呼吸健康研究、血糖健康研究、女性健康研究等多个领域的最新进展。华为将基于这些生命体征检测技术,打造更加科学合理的健康干预措施。
两大巨头的内卷无疑将在智能穿戴行业引发震动,没有与之匹配核心竞争力的产品在未来的市场竞争中有极大可能掉队。
对于医疗层面的需求,受限于精度,苹果的初代产品暂时可能还无法覆盖,但不要忽略苹果巨大的用户群体所带来的海量数据,这些数据对于产品的迭代具有不可估量的价值。有理由相信,经过数次的迭代,无创血糖产品终究会达到医疗层级的需求。
取代CGM?不是没可能,但尚需时间
或许无创血糖检测精度现在还无法达到临床要求,但这条路必然会是未来的方向。
有业内人士向动脉网表示,目前主流血糖监测使用电化学法,通过采血方式精准检测体内血糖含量,能够满足医疗层级血糖检测需求。而无创血糖检测目前受限于精度不足,仅能用于消费级自测,无法满足患者精准监测的需求。因此短期内可能很难在医疗需求层面取代现有方式。
话虽如此,面对新技术,我们既要有耐心也要保持信心。
以现在备受推崇的CGM为例,初代CGM产品因为酶含量、生物相容性等原因,使用具有时间限制。德康第一代产品G1的传感器使用寿命只有3天,随着技术更新迭代,逐渐改进为后续的7天(G2到G5)。到现在,市场主流产品普遍使用期限已经做到了14天。
从受众群来看,最初CGM适应症较为狭窄,主要适用于1型和需要胰岛素强化治疗的2型糖尿病患者。随着临床研究的深入以及数据的积累,CGM的临床地位不断提高。在最新的美国糖尿病协会(ADA)2023版《糖尿病医学诊疗标准》中,不仅肯定了CGM在糖尿病治疗中发挥的作用,并且在使用人群、应用范围和场景已然有比肩传统指尖血糖检测的态势。
从市场认可的角度来看,随着国际品牌雅培、美敦力的进入,再加上多年来国内品牌产品的陆续上市,大家合力开拓市场,消费者对于CGM的认知已经有了很大的提升。而这一切,从德康第一代产品2006年获FDA批准上市到现在,已经过去了17年。
也就是说,CGM花了17年的时间,才走到现在这个阶段。无创血糖赛道随着苹果的入局,必然会吸引更多的企业加入。给他们同样的时间发展,局面可能会完全不同。
对于众多血糖检测企业来说,苹果的入局吹响了自身向更高目标进发的号角,如果还用自己是做慢病管理而苹果是做消费电子的来回避,无疑会错失未来市场的入场券。无数的商业案例表明,干掉你的,往往不是你的竞争对手,而是时代与变革,来自另一赛道的跨服竞争可能比你的传统对手更加致命。
更多精彩内容,关注钛媒体微信号(ID:taimeiti),或者下载钛媒体App
版权归原作者 钛媒体 所有, 如有侵权,请联系我们删除。