
图片来源@视觉中国
文 | 一刻商业,作者 | 天宇,编辑 | 周烨
新氧终于实现了盈利。
财报显示,2022年Q3,新氧净利润为230万元。虽然去年同期,新氧也实现了盈利,但不能忽视的是,这很大程度上源于并表武汉奇致激光公司带来的利好。因此,2022年Q3 的盈利,对于新氧来说,拥有更关键的意义,这预示着新氧靠自身业务可以实现盈利了。
不过在盈利之外,新氧的营收以及信息服务、预定服务并没有与之相同步地稳中向好,而是加速萎靡。2022年以来,新氧各季的营收一直在3亿元左右徘徊,相较于去年各季4亿元左右的营收,下跌不少。
或许是为了平衡营收下滑的压力,新氧屡屡使用恶俗标题党、蹭明星热度的营销手段。这不光让众多网友感到不适,并且还直接被明星“起诉”。
据天眼查显示,2022年11月13日,新氧发布致歉声明,因未经允许,在自家公众平台使用杨幂肖像,侵犯了杨幂的合法权利,向杨幂道歉。
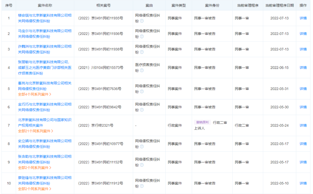
事实上,这并不是新氧首次被明星起诉。天眼查显示,2016年10月以来,包括李小璐、秦岚、许魏洲等90余位明星均因“网络侵权责任纠纷、肖像权纠纷”起诉新氧。

新氧与明星的诉讼官司,图/天眼查
偶尔被明星起诉,或许是因为新氧疏忽所致,但频繁成为明星的诉讼对象,似乎说明新氧故意“蹭”明星的热度。这种营销态度,在某种程度上也折射出了新氧深层次的无奈。
作为一家医美机构,新氧本可以和花容月貌的明星达成合作,进行一系列的营销,以吸引消费者。但遗憾的是,近两年,新氧的财务数据持续恶化,很难再拿出更多的足够资金签约明星。这或许正是新氧“蹭”明星热度的主因。
新氧的“容貌焦虑”生意,越来越难做下去了。
数据全面下滑,新氧坠落
长期亏损的新氧,终于开始盈利,但各项业务却在失速。
最新财报显示,2022年Q3,新氧营收3.23亿元,同比下跌25.2%,净利润为230万元。而从2021年Q4到2022年Q2,新氧的营收为4.5亿元、3亿元、3.09亿元,净利润为-2800万元、-6700万元、-3200万元。

2021年至2022年Q3新氧营收与净利润,一刻商业制图
除了盈利之外,新氧的财务数据几乎没有更多亮点。
据一刻商业了解,新氧自身有信息服务以及预定服务两大业务板块,前者To B,主要是面向机构收取入驻费和广告费,该业务一直是新氧的营收支柱;后者To C,主要从用户的消费中抽取10%的佣金。

新氧营收下滑,与信息服务和预定服务两大业务均不景气有直接联系。财报显示,2022年Q3,新氧信息服务费收入仅为2.36亿元,同比下跌26.7%。对比去年,今年各季度,新氧信息服务业务营收均断崖式下跌。

新氧主要营收结构,一刻商业制图
与此同时,新氧的月活用户数还在不断下跌。财报显示,2022年Q3,新氧月活用户数仅为390万人,相较于2021年Q2的1000万人,缩水60%。
在医美爆发期,得益于一系列的宣传以及补贴,消费者不约而同地加入各大医美平台,为颜值“买单”,但现如今同质化的医美服务已很难吸引新用户,而老用户在回归冷静期后,也相继散去,新氧难以维持平台的月活规模。
不过值得注意的是,新氧付费医疗服务商却保持高位增长态势。2022年Q3,新氧付费医疗服务商为6199家,同比增长28.1%。
这可能得益于新氧的“城市下沉”战略。2016年年初,新氧启动“城市下沉”战略,开始进军二三四线城市。对此,接受《动脉网》采访时,新氧创始人兼CEO金星表示,“我们很早就领会到医美行业多数消费者消费在本地。因此,我们需要去经营每一个城市的用户。”
一方面,付费医疗服务商越来越多,另一方面,付费医疗服务商贡献的信息服务费却越来越少,说明目前新氧的付费医疗服务商只有“量”,而没有“质”。
与此同时,新氧触达消费者的基层机构越来越多,却也没能相应地撬开更多消费者的钱包。**2022年Q3,新氧购买预约服务的用户数为13.67万,同比下跌21.5%;预订服务营收为0.30亿元,同比下跌51.8%。 **
自疫情爆发以来,全球经济持续承压,居民的消费愈加保守。普华永道发布的《2022年全球消费者洞察调研》表示,“因通胀影响了购物意愿,中国消费者普遍预计减少非必需品的支出。”刚非需性的医美,自然难以撬动更多的消费者。
现阶段,除了净利润,新氧的月活、信息服务、预定服务等各核心财务数据均持续恶化,从长期来看,新氧变得越发没有想象力。
营造“容貌焦虑”逐渐失效,“标题党”引起反噬
在信息服务和预定服务两大业务均不景气的背景下,新氧之所以可以实现盈利,主要得益于其大幅削减营业成本。
财报显示,2018年-2021年,新氧的营销费用分别为3.06亿元、 4.7亿元、7.26亿元以及7.93亿元,分别占各期总营收的49.63%、40.81%、56.09%以及46%。
巨额的营销费用,让新氧可以冠名热播综艺、经营社交平台以及投放电梯广告,制造“容貌焦虑”。比如,2019年,新氧的广告喊出“女人美了才完美,做女人整好”的口号,引发争议。
不过如前文所述,持续攀升的营销费用,并没有带来更好的效果,进而提振新氧的财务数据。也正因此,新氧开始调转马头,选择“节流”战略。
财报显示,2021年Q3,新氧费用为2.37亿元,同比下降26.6%。其中营销费用为1.25亿元,同比下跌34.6%。事实上,自迈入2022年,新氧就一直在控制成本。2021年Q1-Q3,新氧的费用分别为2.72亿元、2.47亿元以及2.37亿元,均同比下跌超26%。

新氧费用情况,一刻商业制图
营销费用的下跌,意味着新氧没有充足的资金冠名节目或许签约明星,但医美市场竞争激烈,没有品牌声量,意味着企业更难俘获消费者。
为了弥补营销费用不足的短板,新氧另辟蹊径,通过标题党、蹭明星八卦等手段,吸引消费者关注。
在新氧官方公众号的主页,有众多关乎容貌的标题党内容。比如,11月18日,新氧发布的一篇文章名为《比当众撒尿还让人震惊的是她红毯上的皮肤状态!!!》。
与此同时,新氧官方公众号的每日头版,几乎都指向话题明星。11月18日-11月29日,新氧官方公众号的每日头版分别聚焦王冰冰、章小蕙、C罗女友三位公众人物。在这其中,新氧还夹带私货,表示“香港女生普遍耐老,皮肤状态好,和她们的生活环境、生活习惯、运动和医美都分不开”、“C罗消费于医美,更投资于医美”、“足坛爱做医美的顶流不止C罗一个”。

不过这也造成了反噬,由于没有得到授权,新氧频繁遭遇诉讼。天眼查显示,截至2022年11月22日,与新氧有关的司法纠纷多达376起,其中网络侵权责任纠纷多达97起,肖像权纠纷多达86起,著作权权属、侵权纠纷达58起,侵害作品信息网络传播权纠纷和名誉权纠纷的数量也分别达到16起和13起。
事实上,即使不被明星诉讼,新氧“容貌焦虑”的宣传策略也已不可持续。2021年11月1日,国家市场监管总局发布《医疗美容广告执法指南》,对制造“容貌焦虑”等情形予以重点打击。
此后新氧再也不能将容貌不佳与“低能”“懒惰”“贫穷”等负面评价联系在一起,也无法将容貌出众与“高素质”“勤奋”“成功”等积极评价关联作为广告宣传。这或许也是新氧削减营销费用的部分原因。
新氧的“容貌焦虑”玩法,终究要失效了。
没有新玩法,新氧徘徊在退市边缘
当“容貌焦虑”的宣发之路被封堵,并且也掏不起更多的营销费用,新氧也积极探索医美直播等新兴业务。2020年7月,新氧创始人金星与伊能静开启了“热玛吉狂欢夜”直播。官方数据显示,“热玛吉狂欢夜”直播在线观看人次近700万,总点赞量超20万,打响了“医美第一直播”。
事实上,伴随着电商直播的兴起,垂直赛道的医美直播确实有爆发之势。
《2021医美直播行业报告》显示,2021年Q1,淘宝医美专场带货直播总计31场。3月7日,雪梨的淘宝直播医美专场,单日GMV高达1.82亿元,相当于过去阿里巴巴本地生活医美直播节一个月的成绩。
不过遗憾的是,由于医美不是类似3C、化妆品之类的标品,需要专门的诊断,才能提供针对性的医美服务。并且电商直播仅能解决医美企业获客的问题,而不能提升“客户终身价值”。这就限制了医美直播的想象力。
再加上2021年11月发布的《互联网广告管理办法(公开征求意见稿)》明确规定,“不得利用互联网直播发布医疗、药品、特殊医学用途配方食品、医疗器械或者保健食品广告”。时至今日,新氧医美直播已穷途末路。2022年双十一,新氧没有再宣传自家的医美直播“战报”。
尽管新氧身陷囹圄,但这并没有让各大互联网平台对医美心生芥蒂。相反,近两年,各大互联网巨头也纷纷入局医美市场。2021年6月,字节跳动旗下的小荷医疗上线了医学美容服务“小荷医美”;2022年3月,美团推出医美业务“美团变美福利社”。
虽然各个平台的主营业务各不相同,但互联网的基因决定了,这些互联网平台的医美业务模式与新氧类似,都是做医美信息的“中介生意”,帮助消费者和机构高效衔接。
由于旗下的国民级App具备更多的流量,互联网巨头的医美业务也对新氧形成了碾压之势。据美团官方披露的少有信息显示,2019年Q1,美团医美业务营收同比增长超两倍。同年618和双十一,美团医美线上交易额分别破6.7亿元和15.3亿元。
作为对比,财报显示,2019年,新氧累计促成医美服务交易总额36.4亿元。这也意味着,美团仅两个购物节促成的成交额,就达到了新氧全年成交额60%。
这很难让投投资者对新氧抱有信心。2019年5月,新氧顶着“互联网医美第一股”的光环登陆纳斯达克,上市首日股价大涨32%,市值超18亿美元。
随后,新氧的股价就跌跌不休。美东时间11月23日收盘,新氧的股价仅为0.65美元/股,相较于20.77美元/股的高点,下跌了96.87%。

新氧股价,图/富途牛牛
因股价长期萎靡,2022年7月,新氧还收到了纳斯达克发出的退市警示函,因公司的股票连续30个交易日收盘价低于1美元/股,获得180天的合规期,以重新符合纳斯达克上市规则。
虽然几年前,靠医美的故事,新氧成为资本的宠儿,但是随着监管的逐渐严格以及医美市场逐渐遇冷,新氧也开始急速坠落,越发没有想象空间。
在此背景下,新氧选择收缩战线,削减营销费用,这虽然让其扭亏为盈,但由于“水源”正在枯竭,并且没有找到新的“故事”,新氧也越发难以给投资者以信心,不得不接受被抛弃的命运。
更多精彩内容,关注钛媒体微信号(ID:taimeiti),或者下载钛媒体App
版权归原作者 钛媒体 所有, 如有侵权,请联系我们删除。