
图片来源@视觉中国
文|闻旅,作者 | 杨凡
为增强国有企业的活力和国有经济的控制力,以2018年推出的国企改革“双百行动”为号角,国有企业改革逐渐进入高潮。但聚焦高度市场化的文旅产业,坐拥优质资源、身为市场中坚的各级国资旅企,其改革步伐似乎稍显迟滞。
所谓“祸兮福之所倚”,尽管疫情对文旅产业造成巨大冲击,但由此催生的生存危机,极大刺激了地方文旅集团的求变意识,改革成为其破局突围的必由之路。眼下,以老牌省级文旅集团入场为标志,新一轮国资旅企混改或由此挺进深水区。
*01 时隔近七年,省级文旅集团再现“央地混改”*
天眼查信息显示,2月10日,重庆旅游投资集团有限公司(以下简称“重庆旅投”)股权结构发生变更。重庆渝富控股集团有限公司(以下简称“重庆渝富控股”)持股比例由100%降至86.15%,光大兴陇信托有限责任公司(以下简称“光大信托”)和重庆渝调私募股权投资基金合伙企业(有限合伙)分别以9.4%和4.44%的持股比例,成为重庆旅投新晋股东。

来源天眼查
与此同时,根据天眼查信息,重庆旅投注册资本从“100000万元人民币”增加到“121407.5153万元人民币”,若以此来推算,重庆旅投此次股权结构调整不止是两位新晋股东参与了增资,控股股东重庆渝富控股也增资4597.19万元。
根据公开资料,重庆旅投成立于2010年,为原重庆交通旅游投资集团旅游板块组建而来,公司早先由重庆市国资委直接持股100%,后于2018年10月转至重庆渝富控股持有,现为重庆市唯一的大型旅游资源综合开发集团和旅游产业项目市场化经营运作主体。
至于重庆渝富控股,该公司成立于2016年8月,注册资本1680000万元人民币,是重庆市国资委直管的国有独资综合性资产经营管理公司,履行土地、债务、资产重组和战略投资职能。
视线转回新晋股东光大信托,其成立于2002年,注册资本841819.05万元人民币,作为中国光大集团股份公司(公司实控人为国务院,以下简称“光大集团”)金融板块中与银行、保险、证券并列的核心子公司之一。公司由在原甘肃信托的基础上重组成立,目前由光大集团持股51%。

来源天眼查
再看重庆渝调私募股权投资基金合伙企业(有限合伙),该私募基金成立于2022年6月,基金管理人为重庆西证渝富股权投资基金管理有限公司(疑似实控人为重庆市国资委,总股权比例99.95%),托管人为中国光大银行股份有限公司。
因资产庞大、业态多元,且承载着引领各自省/市文旅产业发展的重托,省级文旅集团谈混改掣肘众多,往往“只听楼梯响,不见人下来”。具体到“央地混改”,上一次有省级文旅集团“躬身进场”,还要追溯到2016年。
2016年,华侨城集团以“文化+旅游+城镇化”和“旅游+互联网+金融”战略入滇,与云南省签订全域旅游框架合作协议,重组云南世博集团、云南文投集团,控股“云南旅游”。通过央地联动、优势互补,把作为央企的资金优势、管理优势、专业优势,同云南世博和云南文投的资源优势、平台优势、团队优势进行整合,通过战略重组、资源共享,全面参与云南全省旅游大开发。
时隔近7年,在全面摆脱疫情影响的2023年伊始,省级文旅集团再次上演久违的“央地混改”,业界对市场复苏释放久违期待的同时,也给予了重庆旅投与光大信托颇多关注。
02 早年尝试混改未果,“前车之鉴”警示在前
此次混改似乎令业界有感突兀,其实稍早已显现预兆。
2月5日,重庆旅投官微发布了一篇名为《如何干好市委“一号工程”?市国资委这样说》的文章,该文章重点提到,重庆市国资委将以对标培育建设世界一流企业为引领,将以更大力度加强央地国企合作、川渝国企协作、市和区县国企联动,支持民企参与国企改革,重点打造“央企重庆行”品牌。

来源文章截图
而再往前追溯可以发现,早在多年前,重庆旅投已经有过混改尝试。
据报道,2014年,重庆旅投曾与同在重庆的A股上市公司迪马股份(600565)达成战略合作,意图采取分步实施的方式,分阶段进行企业混合所有制改革,迪马股份以非公开发行股份等方式购买重庆旅投的相关旅游资产,但因短期内无法形成可执行的具体方案,因此决定终止筹划本次重大事项。
尽管2014年重庆旅投的首次混改尝试以失败告终,但就在当年,另一家由重庆旅游局直管的国资文旅集团,其混改成功落地。
据《每日经济新闻》报道,2014年4月,重庆市旅游局下属的国企重庆旅游产业发展(集团)有限公司(以下简称“重庆旅发”)将70%股权以2.18亿元挂牌增资扩股。如此次增资扩股完成,重庆旅发集团原独资股东重庆旅游资产管理有限公司(重庆旅游局下属,以下简称“重庆旅管公司”)将以30%股权退居第二大股东。
根据彼时挂牌信息显示,重庆旅发2013年净利润亏损337.35万元。截至2014年2月28日,其营业收入为0元,亏损33.49万元;以2013年6月30日为评估基准日,重庆旅发资产总额评估价值为26337.21万元,负债总额达17011.64万元,评估净资产价值9365.57万元。
结合上述数据,彼时重庆旅发不仅运营能力存疑,且身板较为羸弱,但这并未妨碍重庆旅发混改推进。信息显示,2014年9月,四川能汇投资(集团)有限公司以70%的持股比例,成为重庆旅发控股股东,重庆旅管公司以30%持股比例为重庆旅发第二股东。
尽管顺利完成混改,但审视可以发现,对标重庆旅发增资扩股时对投资者设定的要求(注册资本金达1亿元以上、资产总规模5亿元以上、净资产2.5亿元以上,有较好的经营业绩,最近3个会计年度连续盈利等),新控股方似乎有明显距离。而后续的事实证明,此次混改属于典型的反面教材。


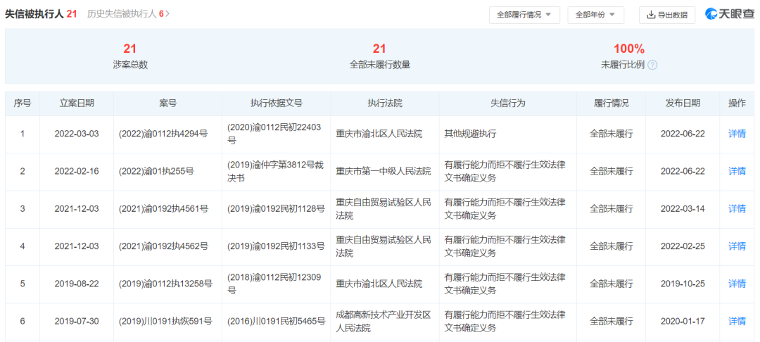
来源天眼查
根据天眼查信息,早在疫情前的2016年,重庆旅发就已经沦为失信被执行人;截止目前,重庆旅发有多达21条失信被执行人信息,失信总金额高达9342.12万元;身负限消令更是多达45条,其持有的包括重庆旅融旅游发展有限公司、重庆明石天下股权投资基金管理有限公司等在内的多家公司股权,均已被冻结。
至于控股股东四川能汇投资(集团)有限公司,历经多年的债务压顶,其企业营业执照已于2022年4月7日被吊销。
*03 主业遭疫情暴击,重庆旅投亟待突围*
令人唏嘘的插叙暂告一段落,视线转回重庆旅投,历经“高投司”、交旅集团、旅游集团三次转型、四个发展阶段,现如今的重庆旅投实力已经不容小觑。
官网信息显示,重庆旅投现有景区、酒店、邮轮、旅行社、智慧旅游、旅游整合营销、旅游康养等旅游产业链相关业态,截至2021年末,公司有员工4500余人,拥有18家子公司,年旅游接待人次超1100万人次,累计接待8000万余人次。

来源网站截图
明面成绩亮眼不假,但剖析运营近况,重庆旅投面临的挑战可谓艰难。
根据《重庆旅游投资集团有限公司2022年度跟踪评级报告》,截至2021年底,重庆旅投(合并口径)总资产为178.77亿元,总负债127.92亿元,资产负债率为71.56%,在闻旅统计的同期17家省级文旅集团中(有公开数据可查)高居Top5之列,仅次于居江西旅游集团(83.9%)、陕西旅游集团(79.84%)、天津旅发集团(77.5%,截至2021年三季度末)和广西旅发集团(72.1%)。

至于经营业绩,2021年,重庆旅投营业总收入为14.31亿元,净利润为0.19亿元。尽管较2020年实现扭亏为盈,但需指出的是,2021年重庆旅投投资收益对利润贡献很大(5.84亿元),主要系受山水公司由控股变成参股公司、仁义在线等4家非核心子公司出表贡献。

来源《重庆旅游投资集团有限公司2022年度跟踪评级报告》
具体到核心的文旅业务,包括景区、酒店、游轮和旅行社在内,其业绩均出现明显下滑,其中景区业务受冲击相对最酒店、游轮业务次之,旅行社业务遭受打击最为剧烈。
景区方面,截至2022年3月末,重庆旅投拥有主要景区4个,包括1个国家5A级旅游景区和3个国家4A级旅游景区,景区业务收入主要来自于景区门票收入,另有餐饮娱乐、游客运输、索道等收入。2021年,剔除金佛山、神龙峡景区(不再控股),重庆旅投旗下主要景区接待旅游人数较去年同期增长59.06%至262.45万人次,恢复至2019年同期的69.99%;景区门票收入同比增长54.02%,恢复至2019年同期的82.21%。

来源《重庆旅游投资集团有限公司2022年度跟踪评级报告》
酒店经营方面,截至2022年3月末,公司在运营酒店8家,其中五星级酒店2家、四星级酒店4家,客房个数共计1907间。公司运营酒店数量较上年末减少4家,重庆旅投酒店业务收入较为依赖JW万豪酒店和两江假日酒店,2021年,公司整体酒店入住率有所改善,当年酒店收入同比增长6.31%至 2.19亿元,恢复至疫情前(2019年为3.29亿元)的60%以上。

来源《重庆旅游投资集团有限公司2022年度跟踪评级报告》
游轮方面,目前重庆旅投运营7艘“长江黄金”系列五星级游轮,公司游轮业务收入主要来源于船票销售、餐饮娱乐和景点 门票,且以船票收入占比最高。受疫情反复影响,2021年旗下游轮接待游客数进一步下滑,同比下降9.19%至8.50万人(2019年为17.1万人次),但公司通过提供餐食和夜景活动丰富旅游产品类型,全年收入同比增长185.71%至1.60亿元, 恢复至疫情前(2019年为3.66亿元)的40%左右。
旅行社板块,重庆阳光国际旅行社有限公司和重庆渝之旅国际旅行社有限公司是重庆旅投旅行社业务主要经营平台,且境外游占比约一半,2020年以来境外游基本停滞。2021年,在国内游的带动下, 其旅行社业务实现营业收入1.95亿元,同比增长8.94%,仅为疫情前(2019年为7.43亿元)的25%。
为对冲疫情造成的影响,2021年以来,重庆旅投继续享有政府及股东在资金和资源协同等方面的有力支持。2021年,重庆市财政局拨付重庆旅投市级国有资本经营预算资金2亿元,控股股东重庆渝富控股完成对公司债转股1.84亿元,增强了公司的资本实力。
尽管如此,但内外挑战交织下,重庆旅投压力仍然高企。截至2022年3月末,重庆旅投总债务和短期债务分别为103.96亿元和29.88亿元, 且2023年到期或可能回售的债券金额合计33亿元,面临大额债券集中到期压力;而同期重庆旅投货币资金和经营活动净现金流分别为5.01亿元和-0.17亿元,已无法覆盖短期债务。
据此中诚信国际认为,因景区运营等主业持续亏损、核心资产划出导致公司主营业务竞争力大幅下滑、股东支持力度明显减弱、债务规模持续增长、外部融资环境明显恶化、偿债压力进一步加大等原因,重庆旅投信用水平在未来12~18个月内可能下降。
与这一评级展望“相向而行”的,是来自上交所公司债券项目信息平台的一则项目更新信息,重庆旅投于2021年3月25日获上交所受理的20亿元私募债券,项目状态已于2021年8月27日更新为终止。且至今再未见上交所受理重庆旅投发行的新的私募债券。

来源上交所
*04 遭华侨城“放鸽子”?省级文旅集团排位或将重调*
重庆旅投的债务压力并非新事,早在2018年,重庆旅投就因未充分披露净资产大幅下降的重大财务不利问题,受到中国银行间市场交易商协会自律处分。
2018年8月17日,中国银行间市场交易商协会官网发布了交易商协会自律处分信息。重庆旅投在“17重庆旅投MTN002”“17重庆旅投CP001”相关债务融资工具发行前,未补充披露2017年半年末净资产同比下降超过10%的重大财务不利变化并通报协会注册办公室,上述行为违反了银行间相关自律规则指引。依据相关自律规定,经2018年第9次自律处分会议审议,给予重庆旅投诫勉谈话处分,责令其针对本次事件中暴露出的问题进行全面深入的整改。

来源中国银行间市场交易商协会官网
而疫情的暴击,刺激重庆旅投对旗下子公司股权转让/混改进程明显提速。
2021年11月5日,重庆旅投景典房地产开发有限公司挂牌转让其所持有的重庆景典凰城地产有限公司100%股权,底价为20457.46万元,转让方为信息披露结束日期至2021年11月12日。截至2021年9月30日,标的公司总资产20648.04万元。据评估报告,重庆渝富集团同意重庆旅投以2020年12月15日为基准日,将重庆旅投下属重庆旅投景典房地产开发有限公司所持大足1351-2、1351-3号土地使用权已无偿划转至标的企业。
2021年12月,重庆旅投旗下(持股74.7%)重庆统景旅游开发有限公司(以下简称“重庆统景旅游”)启动增资,拟公开募集资金不低于35433万元,公开募集资金对应持股比例为60%,根据挂牌信息,2020年,重庆统景旅游净亏损6521万元,截止2021年11月25日,重庆统景旅游净利润为-5645.04万元,资产总额为115693.67万元,负债率近88%。
就在此前的8月,深圳华侨城股份有限公司与重庆旅投、重庆统景旅游签下意向协议,称将计划投入80亿元,按照国家5A级景区标准对统景温泉旅游度假区进行升级打造,将统景打造为重庆第7张城市名片,成为符合直辖市地位的国际知名温泉度假区。2022年2月15日,重庆市渝北政府官网公布了渝北区2022年重点项目建设名单,统景国际温泉度假区作为新开工项目赫然在列。
尽管巨额亏损/债务高企凸显重庆旅投仍需进阶的运营能力,但对于此次华侨城疑将参与“混改”,有业者曾对闻旅做过积极分析,其认为,结合统景温泉占据的资源禀赋、区位、项目体量和政策扶持力度4大比较优势,重庆旅投集团若能借华侨城参与混改产生的“鲶鱼效应”,或可成功盘活这一不良资产。
设想虽美好,但回归现实,三方签订意向协议距今已时过1年半,重庆统景旅游股权结构中始终没能看到华侨城的身影。而或许是意识到混改借势需以“规范化”为前提,重庆旅投随后发布系列针对性的招聘信息,以期完善公司治理、降低决策风险、强化集团资本运作能力。

来源重庆旅投官网
2022年4月,重庆旅投对外公开招聘公告,招聘投资中心资本运作岗2名,主要负责拟制集团资本运作规划;制定集团或所属企业的子公司的并购重组、资产处置等具体方案;负责资本运作方案的组织实施;负责企业上市的具体推进等相关工作等。
2022年9月,重庆旅投招聘集团总法律顾问1名,工作职责包括全面负责企业风险管理、法律事务、合规管理、内控管理工作,建立健全并领导企业法律事务机构,统一协调处理企业决策、经营和管理中的风控、法律、合规、内控事务,有效服务党委会、董事会、经营管理层,保障集团合法合规经营发展;2、参与集团重大经营决策,列席党委会、董事会有关会议,对涉及法律问题的事项提出法律意见,对相关法律风险提出防范意见,保证决策的合法合规性等。
透视此次低调牵手的光大信托,其控股股东广西集团在文旅业的布局业界周知。2018年年初,中国青旅集团公司(另一为中国青年实业发展总公司)100%国有产权划转至光大集团,列入光大集团一级直属企业序列。在光大集团对其展开大刀阔斧的改革后,中青旅随后进入跨越式发展通道,包括总资产、净资产、营收等在内的主要经济指标较光大集团接手前多明显提升。
聚焦重庆国资旅企,以南川东街项目为代表,早在疫情之前中青旅已经展开合作试水。该项目位于重庆南川区老城中心,占地面积约120亩,总投资约23亿元,由重庆市南川区城市建设投资(集团)有限公司打造,中青旅参与运营,是南川区探索“棚改+产业”建设路径、引客入城的核心项目。据官方报道,东街项目自开街以来累计接待游客超1210.8万人次,带动南川餐饮住宿业增长72.58%。
以此为基础,此次重庆旅投通过引入光大证券参与混改,间接与光大集团实现资本联姻。借助光大集团文旅板块的协同/赋能,接下来重庆旅投会开辟怎样的破局路径,各省级文旅集团间的座次排位又将如何演变?闻旅也将保持关注。
更多精彩内容,关注钛媒体微信号(ID:taimeiti),或者下载钛媒体App
版权归原作者 钛媒体 所有, 如有侵权,请联系我们删除。